Vevor GS-E handleiding
Handleiding
Je bekijkt pagina 65 van 96

OSTRZEŻENIE! Ten stojak musi być zainstalowany na twardym, równym podłożu i w połączeniu
ze zgodnymi szlifierkami stołowymi.
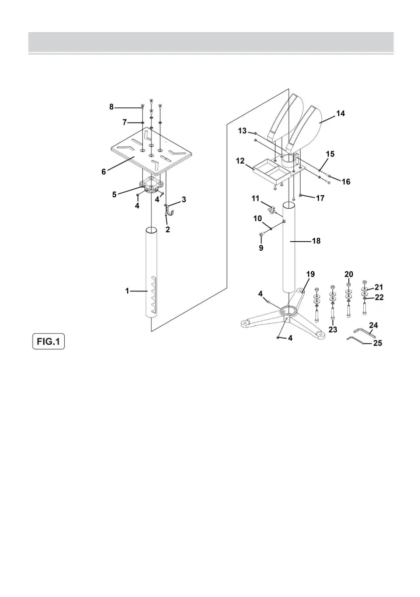
4.1. MONTAŻ STOJAKA (RYC.1)
4.1.1. Wsuń słupek (18) w podstawę (19) i zabezpiecz śrubami dociskowymi M10 x 10 (4).
UWAGA: dokręcaj nakrętki i śruby palcami podczas montażu. Po złożeniu użyj
klucz nastawny, aby upewnić się, że wszystkie mocowania są bezpieczne.
Jeśli czegoś brakuje, skontaktuj się natychmiast ze sprzedawcą VEVOR.
Zanim zaczniesz, oddziel wszystkie części i pogrupuj je według rozmiaru i stylu. Jeśli jakieś części są
4.1.2. Zamontuj schowek na ściernicę (14) do tacy na akcesoria (12)
Użyj płaskiej podkładki cynkowej M6 (15), śrub z łbem sześciokątnym M6 x 20 cynkowych (16) i podkładki stalowej
za pomocą wkrętów samogwintujących ST6,3 x 16 (17). Nasuń gotową jednostkę na słupek (18).
Do mocowania służą nakrętki M6 cynkowe (13).
- 4 -
Numery odnoszą się do załączonej listy części.
MONTAŻ
Machine Translated by Google
Bekijk gratis de handleiding van Vevor GS-E, stel vragen en lees de antwoorden op veelvoorkomende problemen, of gebruik onze assistent om sneller informatie in de handleiding te vinden of uitleg te krijgen over specifieke functies.
Productinformatie
| Merk | Vevor |
| Model | GS-E |
| Categorie | Niet gecategoriseerd |
| Taal | Nederlands |
| Grootte | 9652 MB |







