Vevor GS-E handleiding
Handleiding
Je bekijkt pagina 53 van 96

¡ADVERTENCIA!Estesoportedebeinstalarsesobreunsuelosólidoyniveladoyencombinación
conamoladorasdebancocompatibles.
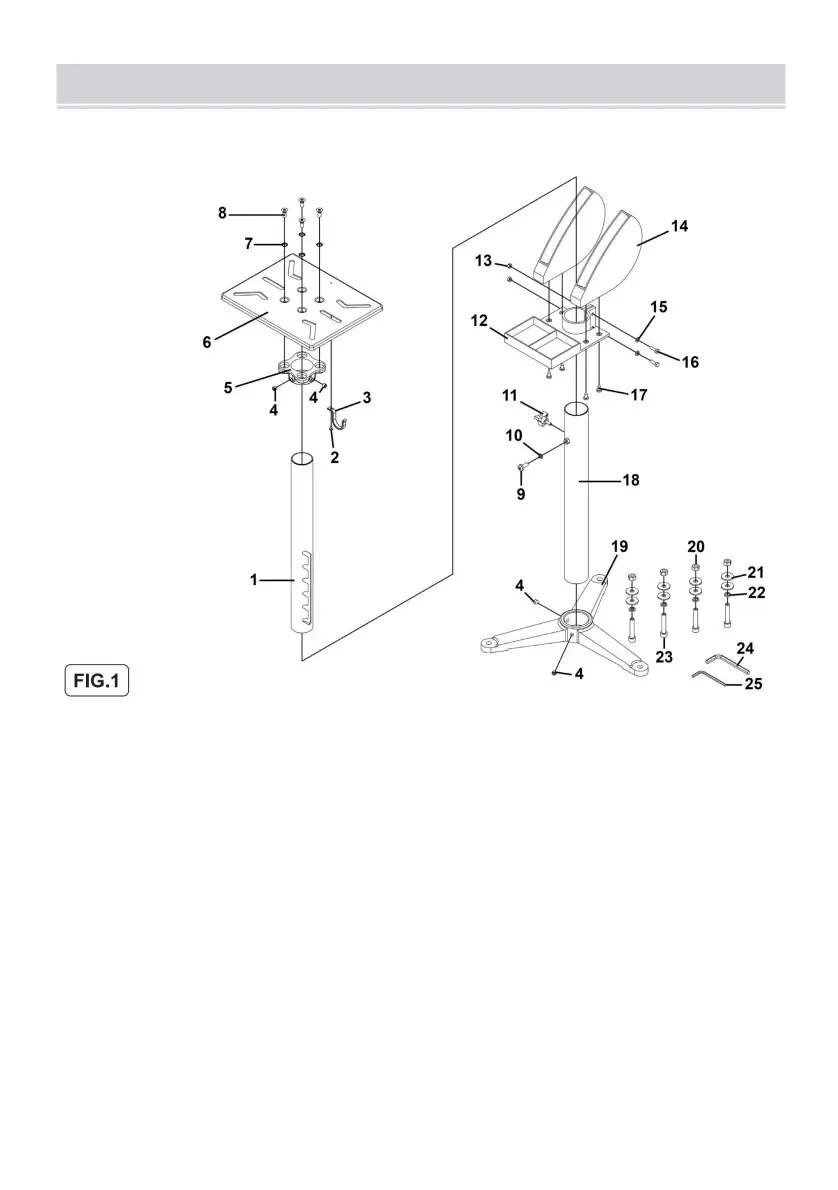
4.1.MONTAJEDELSOPORTE(FIG.1)
4.1.1.Desliceelmontantevertical(18)enlabase(19)yutilicetornillosprisionerosM10x10(4)paraasegurarlo.
Falta,contacteinmediatamenteconsudistribuidorVEVOR.
llaveajustableparagarantizarquetodaslasfijacionesesténseguras.
NOTA:aprietelastuercasylospernosconlosdedosalensamblar.Unavezensamblado,useun
Antesdecomenzar,separetodaslaspiezasyagrúpelasportamañoyestilo.Sialgunapiezaes
4.1.2.Fijeelcompartimentodealmacenamientodelamuelaabrasiva(14)alabandejadeaccesorios(12)
TuercasM6zincadas(13)parafijar.
UtiliceunaarandeladezincplanaM6(15),tornillosdefijacióndecabezahexagonalM6x20dezinc(16)yacero.
utilizandotornillosautorroscantesST6,3x16(17).Deslicelaunidadcompletasobreelmontantevertical(18).
4
Losnúmerosserefierenalalistadepiezasadjunta.
ASAMBLEA
Machine Translated by Google
Bekijk gratis de handleiding van Vevor GS-E, stel vragen en lees de antwoorden op veelvoorkomende problemen, of gebruik onze assistent om sneller informatie in de handleiding te vinden of uitleg te krijgen over specifieke functies.
Productinformatie
| Merk | Vevor |
| Model | GS-E |
| Categorie | Niet gecategoriseerd |
| Taal | Nederlands |
| Grootte | 9652 MB |







