Vevor GS-E handleiding
Handleiding
Je bekijkt pagina 41 van 96

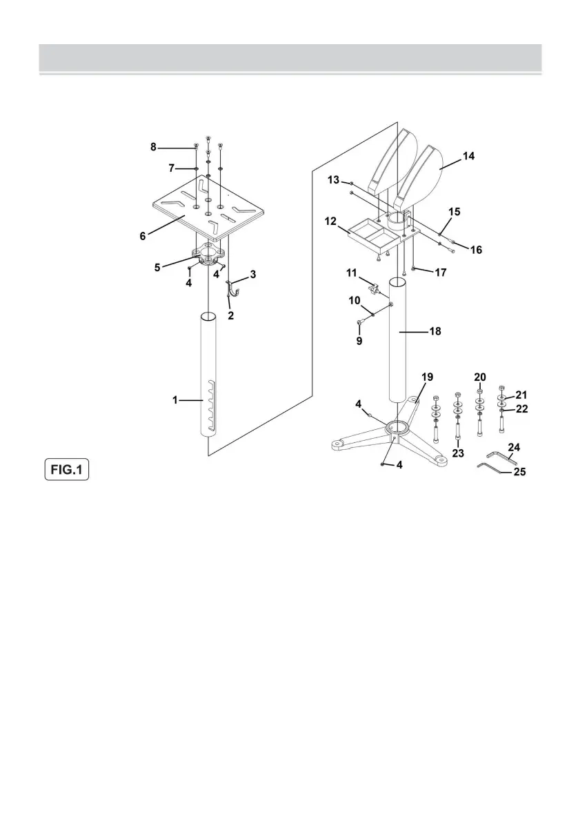
I numeri si riferiscono all'elenco dei pezzi allegato.
con smerigliatrici da banco compatibili.
ATTENZIONE! Questo supporto deve essere installato su un terreno solido e livellato e in combinazione
4.1. MONTAGGIO DEL CAVALLETTO (FIG.1)
4.1.1. Far scorrere il montante (18) nella base (19) utilizzando le viti senza testa M10 x 10 (4) per fissarlo.
mancante, contatta immediatamente il tuo rivenditore VEVOR.
chiave inglese regolabile per garantire che tutti i fissaggi siano ben saldi.
NOTA: stringere a mano i dadi e i bulloni durante il montaggio. Una volta assemblati, utilizzare un
Prima di iniziare, separa tutte le parti e raggruppale per dimensione e stile. Se alcune parti sono
4.1.2. Fissare il vano portaoggetti della mola (14) al vassoio degli accessori (12)
Utilizzare rondella piatta in zinco M6 (15), viti a testa esagonale M6 x 20 in zinco (16) e acciaio
dadi M6 zincati (13) per il fissaggio.
utilizzando viti autofilettanti ST6,3 x 16 (17). Far scorrere l'unità completata sul montante (18).
ASSEMBLAGGIO
- 4 -
Machine Translated by Google
Bekijk gratis de handleiding van Vevor GS-E, stel vragen en lees de antwoorden op veelvoorkomende problemen, of gebruik onze assistent om sneller informatie in de handleiding te vinden of uitleg te krijgen over specifieke functies.
Productinformatie
| Merk | Vevor |
| Model | GS-E |
| Categorie | Niet gecategoriseerd |
| Taal | Nederlands |
| Grootte | 9652 MB |







