Vevor GS-E handleiding
Handleiding
Je bekijkt pagina 29 van 96

mit kompatiblen Doppelschleifmaschinen.
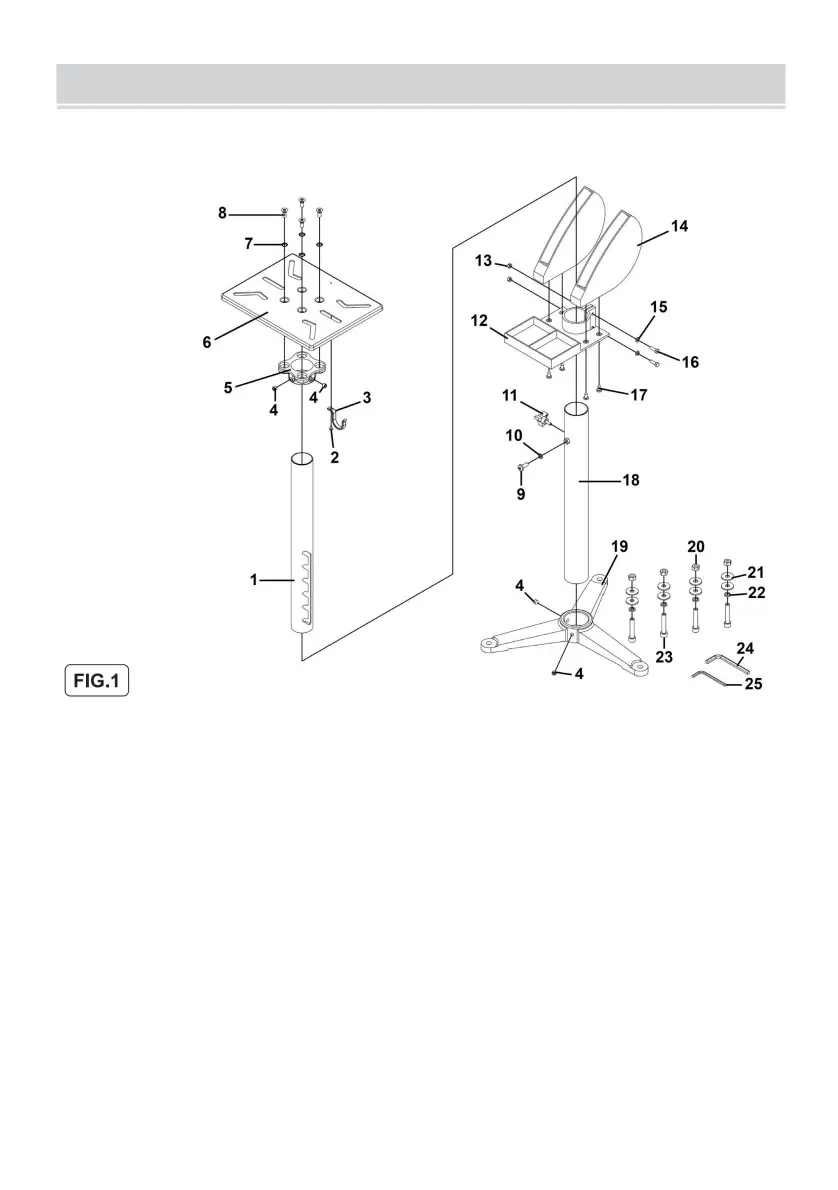
4.1. MONTAGE DES STÄNDERS (ABB. 1)
ACHTUNG! Der Ständer muss auf ebenem, festem Untergrund und in Kombination mit
4.1.1. Den Pfosten (18) in den Sockel (19) schieben und mit den Madenschrauben M10 x 10 (4) befestigen.
HINWEIS: Muttern und Schrauben beim Zusammenbau nur mit der Hand festziehen. Nach dem Zusammenbau mit einem
verstellbarer Schraubenschlüssel, um sicherzustellen, dass alle Befestigungen sicher sind.
fehlt, wenden Sie sich umgehend an Ihren VEVOR-Händler.
Bevor Sie beginnen, trennen Sie alle Teile und gruppieren Sie sie nach Größe und Stil. Wenn Teile
4.1.2. Schleifscheiben-Aufbewahrungsfach (14) an Zubehörablage (12) befestigen
Mit selbstschneidenden Schrauben ST6,3 x 16 (17) befestigen. Komplette Einheit über den Pfosten schieben (18).
Verwenden Sie flache M6 Zinkscheibe (15), Sechskantschrauben M6 x 20 Zink (16) und Stahl
Muttern M6 Zink (13) befestigen.
- 4 -
Die Nummern beziehen sich auf die beigefügte Teileliste.
MONTAGE
Machine Translated by Google
Bekijk gratis de handleiding van Vevor GS-E, stel vragen en lees de antwoorden op veelvoorkomende problemen, of gebruik onze assistent om sneller informatie in de handleiding te vinden of uitleg te krijgen over specifieke functies.
Productinformatie
| Merk | Vevor |
| Model | GS-E |
| Categorie | Niet gecategoriseerd |
| Taal | Nederlands |
| Grootte | 9652 MB |







