Vevor GS-E handleiding
Handleiding
Je bekijkt pagina 17 van 96

ATTENTION!Cesupportdoitêtreinstallésurunsolsolideetplatetencombinaison
avecdesmeuleusesd'établicompatibles.
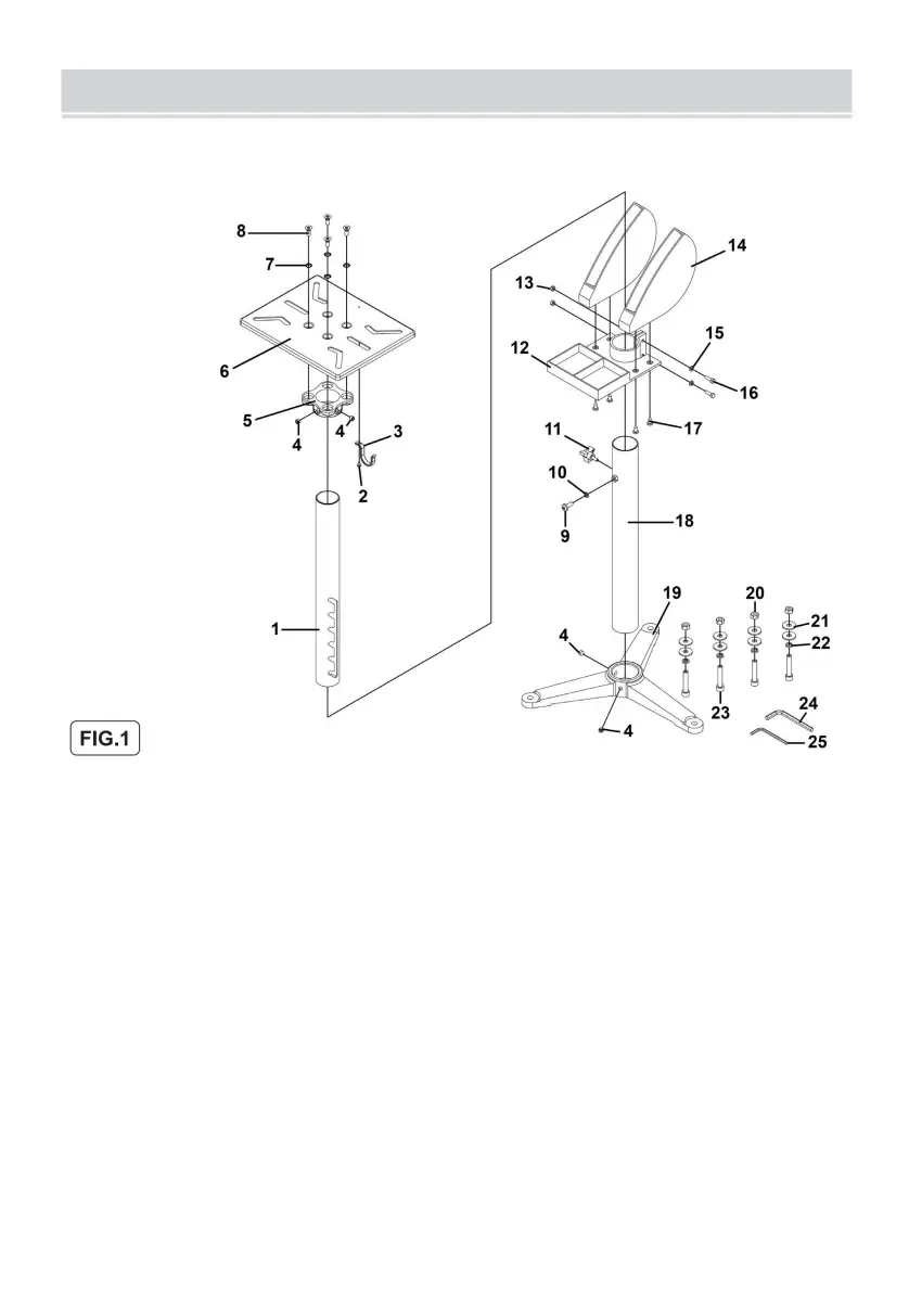
4.1.MONTAGEDUSUPPORT(FIG.1)
àl'aidedevisautotaraudeusesST6,3x16(17),faitesglisserl'ensembleterminésurlemontant(18).
manquant,contactezimmédiatementvotrerevendeurVEVOR.
cléàmolettepourgarantirquetouteslesfixationssontsécurisées.
REMARQUE:serrezlesécrousetlesboulonsàlamainlorsdel'assemblage.Unefoisassemblé,utilisezun
Avantdecommencer,sépareztouteslespiècesetregroupezlespartailleetparstyle.Sidespiècessont
UtilisezunerondelleplateenzincM6(15),desvisàtêtehexagonaleM6x20enzinc(16)etdel'acier
4.1.1.Faitesglisserlemontant(18)danslabase(19)etfixezleàl'aidedevissanstêteM10x10(4).
écrousM6zinc(13)pourfixer.
4.1.2.Fixezlecompartimentderangementdelameule(14)auplateaud'accessoires(12)
4
Lesnumérosseréfèrentàlalistedespiècesjointes.
ASSEMBLÉE
Machine Translated by Google
Bekijk gratis de handleiding van Vevor GS-E, stel vragen en lees de antwoorden op veelvoorkomende problemen, of gebruik onze assistent om sneller informatie in de handleiding te vinden of uitleg te krijgen over specifieke functies.
Productinformatie
| Merk | Vevor |
| Model | GS-E |
| Categorie | Niet gecategoriseerd |
| Taal | Nederlands |
| Grootte | 9652 MB |







