Vevor 2402-UV25 handleiding
Handleiding
Je bekijkt pagina 99 van 118

8
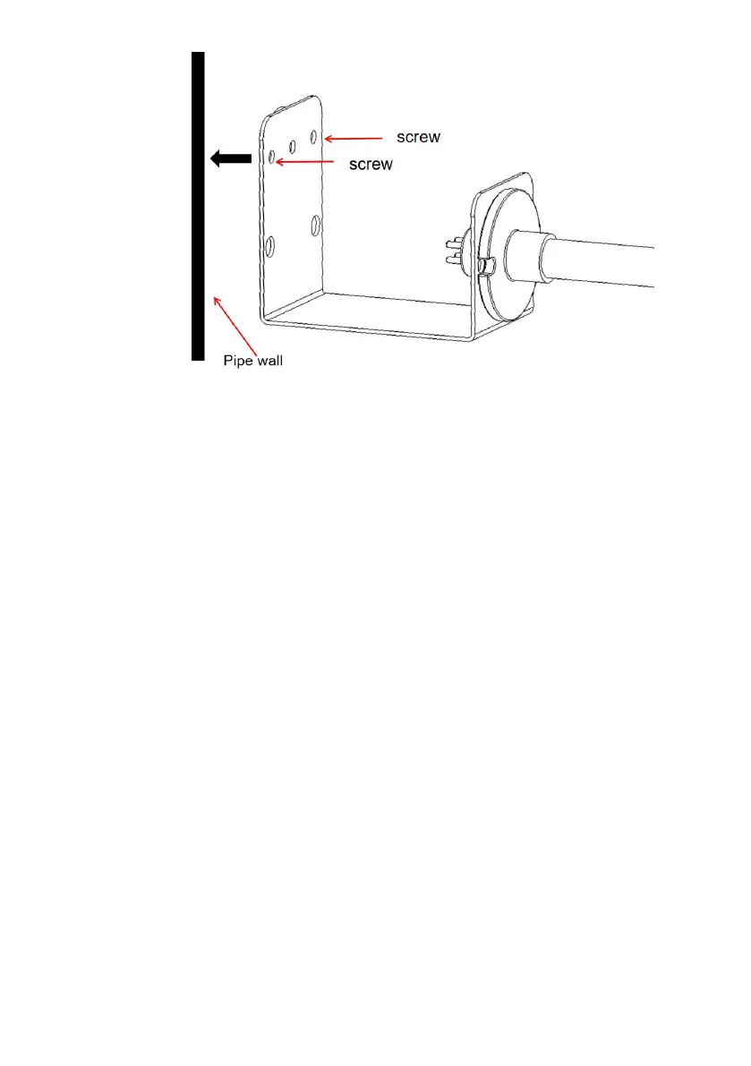
U. Producten kunnen ook van buitenaf op de pijpleiding worden
geïnstalleerd;
Maak eerst een installatiegat volgens de afbeelding en plaats het product
in de buis. De twee schroefgaten van de magnetische steun moeten
uitgelijnd zijn met de twee 3 mm geboorde schroefgaten. Houd een positie
voor het netsnoer vrij en bevestig het product vervolgens met schroeven
aan de buis.
Na de installatie is het noodzakelijk om de overtollige insnijding af te sluiten
met aluminiumfolie of ander isolatiemateriaal om blootstelling aan UV-licht
en letsel bij personen te voorkomen.
Diagram van de grootte van een open gat
Bekijk gratis de handleiding van Vevor 2402-UV25, stel vragen en lees de antwoorden op veelvoorkomende problemen, of gebruik onze assistent om sneller informatie in de handleiding te vinden of uitleg te krijgen over specifieke functies.
Productinformatie
| Merk | Vevor |
| Model | 2402-UV25 |
| Categorie | Luchtreiniger |
| Taal | Nederlands |
| Grootte | 14310 MB |







