Vevor 2402-UV25 handleiding
Handleiding
Je bekijkt pagina 84 van 118

8
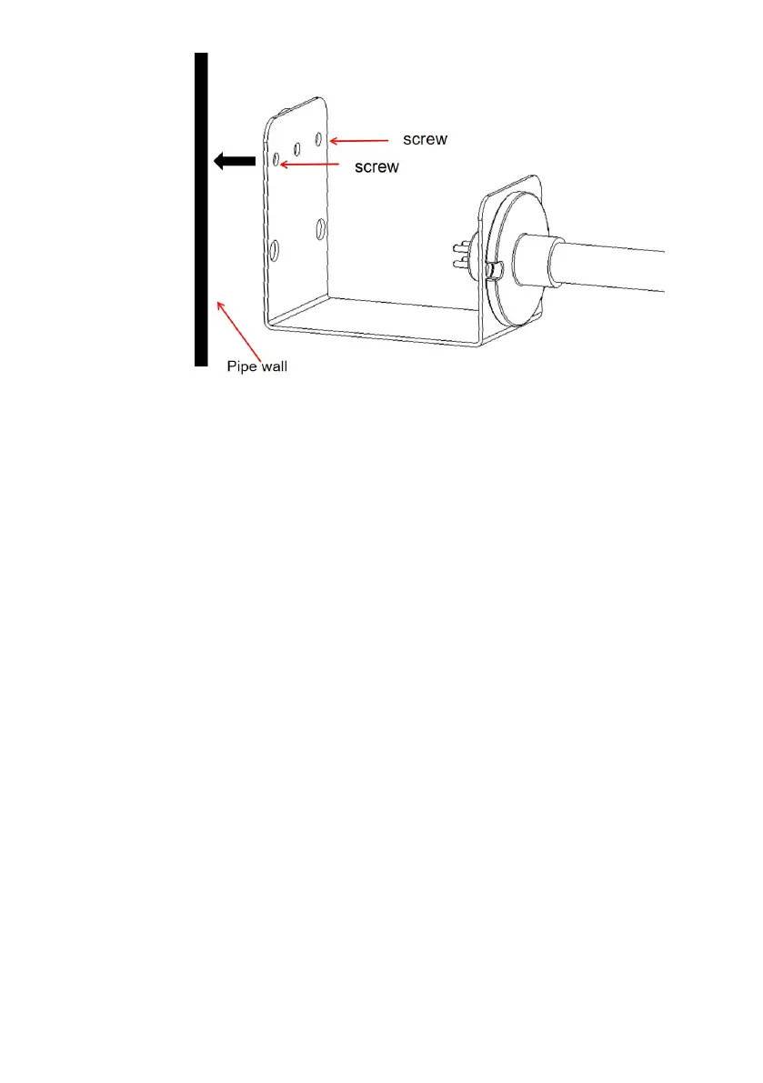
R. Produkty mogą być również instalowane od zewnątrz do rurociągu;
Najpierw wytnij otwór montażowy zgodnie z rysunkiem, włóż produkt do
rury. Dwa otwory na śruby w podpórce magnetycznej muszą być
wyrównane z dwoma wywierconymi otworami na śruby o średnicy 3 mm.
Musisz zarezerwować pozycję dla przewodu zasilającego, a następnie
zamocuj produkt na rurze za pomocą śrub.
Po zakończeniu montażu konieczne jest zamknięcie nadmiaru nacięcia
taśmą aluminiową lub innym materiałem izolacyjnym, aby zabezpieczyć
się przed promieniowaniem UV, które mogłoby spowodować obrażenia u
ludzi.
Diagram rozmiarów otworów otwartych
Bekijk gratis de handleiding van Vevor 2402-UV25, stel vragen en lees de antwoorden op veelvoorkomende problemen, of gebruik onze assistent om sneller informatie in de handleiding te vinden of uitleg te krijgen over specifieke functies.
Productinformatie
| Merk | Vevor |
| Model | 2402-UV25 |
| Categorie | Luchtreiniger |
| Taal | Nederlands |
| Grootte | 14310 MB |






