Vevor 2402-UV25 handleiding
Handleiding
Je bekijkt pagina 53 van 118

8
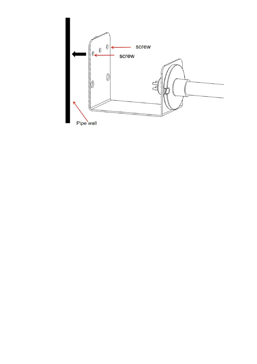
L. I prodotti possono essere installati anche dall'esterno della tubazione;
Per prima cosa, tagliare un foro di installazione come mostrato in figura,
posizionare il prodotto nel tubo. I due fori per le viti del supporto magnetico
devono essere allineati con i due fori per viti da 3 mm, è necessario
riservare una posizione per il cavo di alimentazione, quindi fissare il
prodotto sul tubo con le viti.
Dopo l'installazione, è necessario chiudere l'incisione in eccesso con
nastro di alluminio o altro materiale isolante per evitare l'esposizione ai
raggi UV e causare danni alle persone.
Diagramma delle dimensioni del foro aperto
Bekijk gratis de handleiding van Vevor 2402-UV25, stel vragen en lees de antwoorden op veelvoorkomende problemen, of gebruik onze assistent om sneller informatie in de handleiding te vinden of uitleg te krijgen over specifieke functies.
Productinformatie
| Merk | Vevor |
| Model | 2402-UV25 |
| Categorie | Luchtreiniger |
| Taal | Nederlands |
| Grootte | 14310 MB |






