Vevor 2112-UV36X2 handleiding
Handleiding
Je bekijkt pagina 64 van 153

5
GG
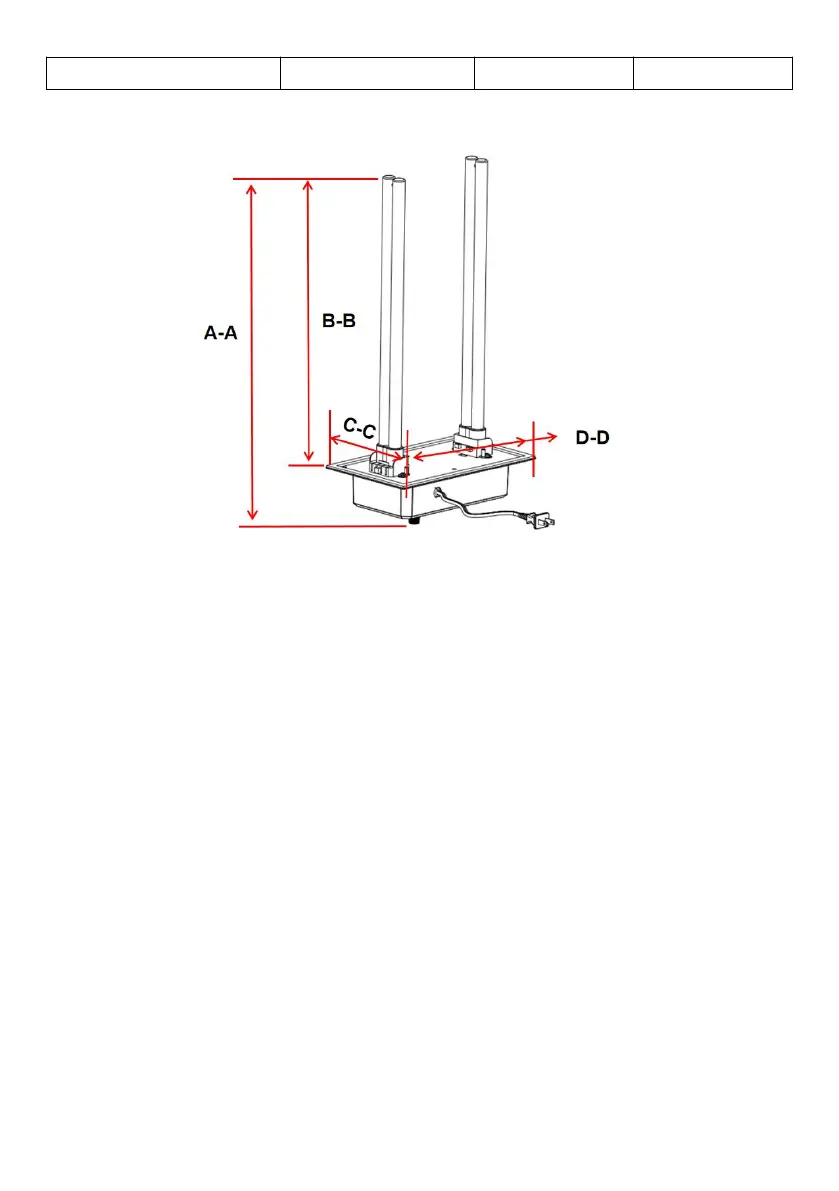
258mm
175mm
258mm
Nota: Verificare se lo spazio interno del tubo HVAC può contenere il
prodotto.
Istruzioni per l'installazione
Come installare il sistema di trattamento dell'aria UV
Se il tuo sistema di riscaldamento/raffreddamento (HVAC) è dotato di aria
condizionamento, si raccomanda che i raggi UV Il sistema di trattamento
dell'aria (unità) può essere montato direttamente sopra la serpentina di
raffreddamento. L'unità può prevenire la crescita di un'elevata percentuale
di microrganismi quali muffe, batteri e virus su superfici quali serpentine di
raffreddamento, vaschette di raccolta e condotti.
Selezione della posizione di montaggio
1. L'unità può essere montata in qualsiasi orientamento, ma deve essere
montata in modo che la spia luminosa sia visibile.
2. Scegliere una posizione che renda semplice la sostituzione/pulizia delle
Bekijk gratis de handleiding van Vevor 2112-UV36X2, stel vragen en lees de antwoorden op veelvoorkomende problemen, of gebruik onze assistent om sneller informatie in de handleiding te vinden of uitleg te krijgen over specifieke functies.
Productinformatie
| Merk | Vevor |
| Model | 2112-UV36X2 |
| Categorie | Luchtreiniger |
| Taal | Nederlands |
| Grootte | 15679 MB |






