Vestil WL-100-5-68 handleiding

16 pagina's
PDF beschikbaar

Handleiding

Je bekijkt pagina 10 van 16
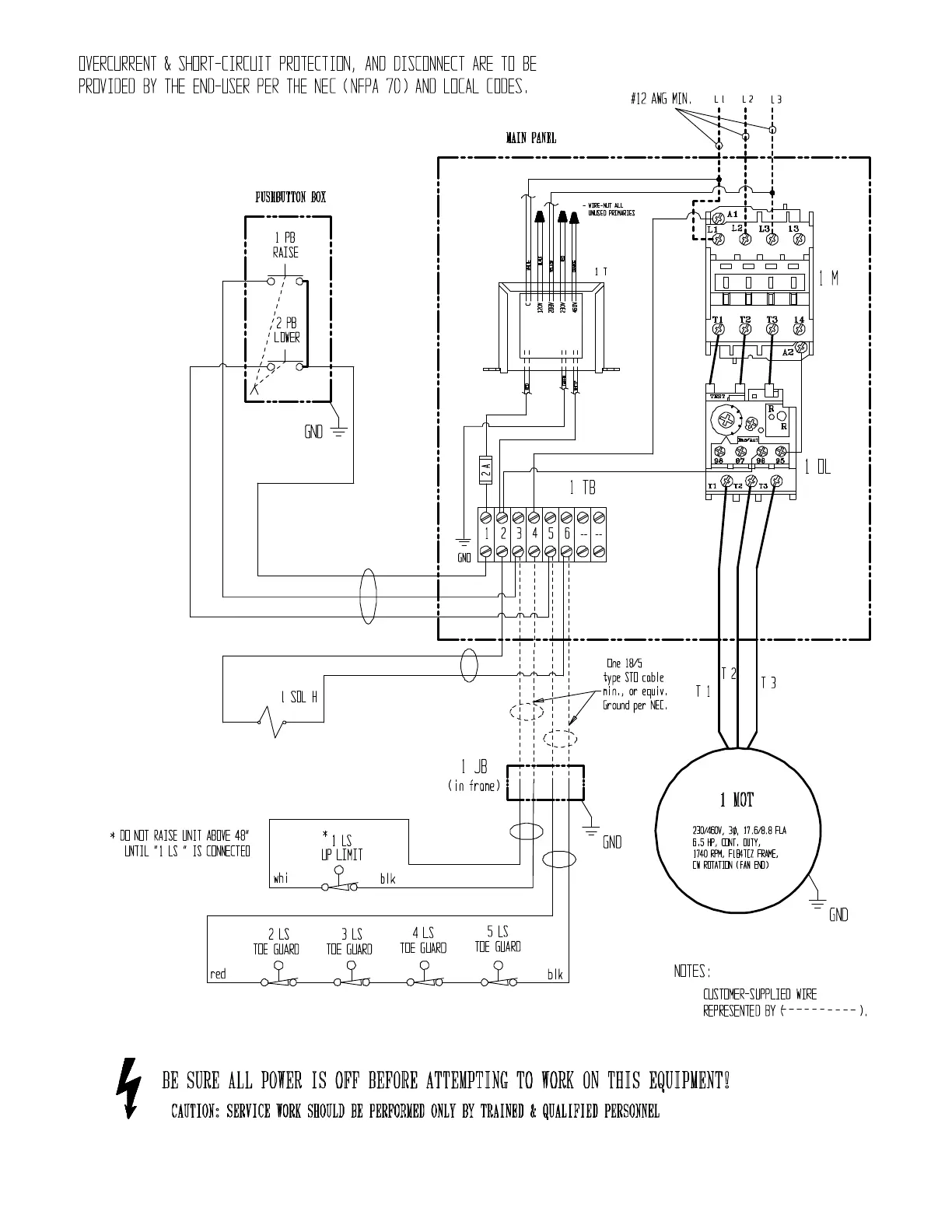
6/25/2015 Manual, WL-100.doc
VESTIL MFG. CO./T&S EQPT. CO. 10 of 16

Bekijk gratis de handleiding van Vestil WL-100-5-68, stel vragen en lees de antwoorden op veelvoorkomende problemen, of gebruik onze assistent om sneller informatie in de handleiding te vinden of uitleg te krijgen over specifieke functies.

Productinformatie

MerkVestil
ModelWL-100-5-68
CategorieNiet gecategoriseerd
TaalNederlands
Grootte2869 MB