Vestil TM-22-M handleiding
Handleiding
Je bekijkt pagina 14 van 19

14
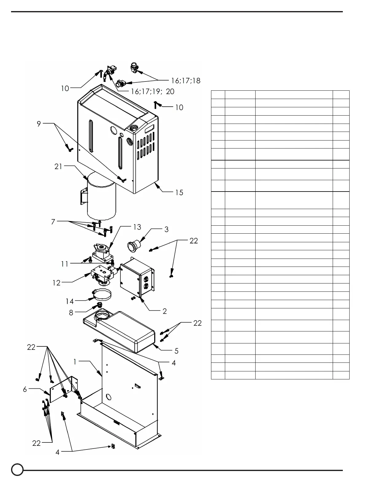
MODULAR POWER UNIT PARTS BREAKDOWN — AC-1
Note:
Motors, cylinders, and pumps can vary by model.
Consult the manufacturer to determine the exact part
numbers
for these items.
Item Part no. Description Qty.
1 99-016-933 Base bracket 1
2 21-034-008 Electrical box (see FIG. 6B) 1
3 21-034-005 AC adaptor plug 1
4 37927 Tinnerman clip 4
5 99-023-001 Reservoir 1
6 Motor brace 1
7
23255
33687
5
/
16
” – 18 x 1” utility grade bolt
5
/
16
” high collar lock washer
4
4
8 01-116-003 Breather 1
9 29185
1
/
4
” – 20 x 1” TPHMS z-plated
screw
1
10 29201
1
/
4
” – 20 x 1
3
/
4
” TPHMS z-plated
screw
1
11
23305
33688
33008
3
/
8
” – 16 x 1” utility grade bolt
3
/
8
” high collar lock washer
3
/
8
” flat washer
2
2
2
12 01-627-010 Manifold (see FIG. 6C) 1
13 01-143-906 Pump 1
14 99-145-061 Worm gear hose clamp 1
15 99-024-029 Fiberglass cover 1
16 99-034-054 Base, contact block 3
17 01-022-003 Contact block N.O. 3
18 99-034-055 Operator, black, non-illuminated 2
19 01-022-008 Key switch, 2-position 1
20 01-134-007 Legend, ON - OFF 1
21 99-135-003 Motor, electric, 1ph. 1
22 99-145-061 Clamp, worm gear, hose 1
23 01-143-906 Pump 1
24 01-627-010
Manifold assembly (exploded
view on p. 12)
1
25 29201
1
/
4
in. – 20 x 1
3
/
4
in. TPHMS zinc-
plated
2
26 29185
1
/
4
in. – 20 x 1in. TPHMS zinc-
plated
2
27
23255
33687
SHCS utility grade
High collar lock washer
4
4
28 99-033-024 Molded cord 1
29
21-034-025
Connector, charge 1
30 99-051-014 1in. hook and loop press 10”
Bekijk gratis de handleiding van Vestil TM-22-M, stel vragen en lees de antwoorden op veelvoorkomende problemen, of gebruik onze assistent om sneller informatie in de handleiding te vinden of uitleg te krijgen over specifieke functies.
Productinformatie
Merk | Vestil |
Model | TM-22-M |
Categorie | Niet gecategoriseerd |
Taal | Nederlands |
Grootte | 3373 MB |