Vestil LM-EBNT-8-30 handleiding
Handleiding
Je bekijkt pagina 13 van 25

Table of Contents Rev. 8/28/2024 LM MANUAL
Table of Contents Copyright 2020 Vestil Manufacturing Co. Page 13 of 25
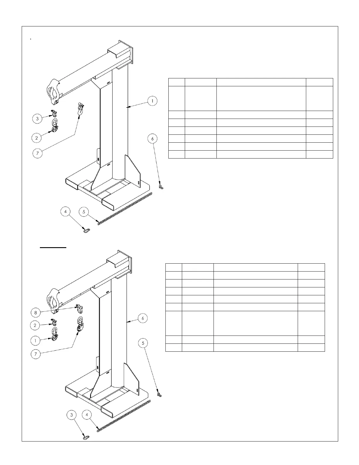
FIG. 3E: LM-HRNT-4k Exploded View & Bill of Materials
Item
Part No.
Description
Quantity
1
08-514-007
08-514-341
08-514-343
Frame, boom + base weldment:
LM-HRNT-4-24
LM-HRNT-4-30
LM-HRNT-4-36
1
1
1
2
08-145-001
2-ton hook
1
3
08-145-010
Specialty hardware: 2-ton shackle
1
4
08-145-041
5
/
16
in. snap hook
1
5
99-145-037
5
/
16
in. x 36in. chain
1
6
99-145-084
Lap link
1
7
99-645-019
2-ton hook and shackle
1
FIG. 3F: LM-HRNT-6k Exploded View & Bill of Materials
Item
Part No.
Description
Quantity
1
08-145-001
Swivel hook, 2-ton
1
2
08-145-010
1
/
2
” 2-ton shackle
1
3
08-145-041
5
/
16
” snap hook
1
4
99-145-037
5
/
16
” chain 36” long
1
5
99-145-084
Lap Link
1
6
08-514-008
08-514-342
08-514-344
Frame, boom + base weldment:
LM-HRNT-6-24
LM-HRNT-6-30
LM-HRNT-6-36
1
1
1
7
08-145-002
Swivel hook, 3-ton
1
8
99-145-019
5
/
8
” 3
1
/
4
-ton shackle
1
Bekijk gratis de handleiding van Vestil LM-EBNT-8-30, stel vragen en lees de antwoorden op veelvoorkomende problemen, of gebruik onze assistent om sneller informatie in de handleiding te vinden of uitleg te krijgen over specifieke functies.
Productinformatie
Merk | Vestil |
Model | LM-EBNT-8-30 |
Categorie | Niet gecategoriseerd |
Taal | Nederlands |
Grootte | 8651 MB |