Vestil HDD-72-15-P handleiding
Handleiding
Je bekijkt pagina 20 van 25

Table of Contents 5/14/2020 HDD, MANUAL
Table of Contents Copyright 2019 Vestil Manufacturing Co. 20 of 25
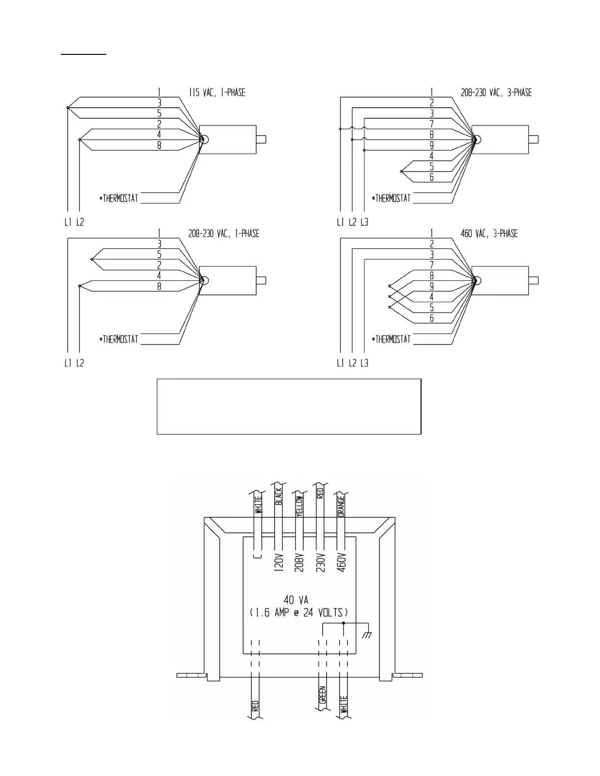
FIG. 11: Motor lead connection diagrams for all 0.5HP, 0.75HP, & 3hp single-
phase motors and for all 2HP, 5.5HP, and 6.5HP three phase motors
*Refer to MPU-GEN2 manual if your unit was manufactured on or after 12-01-2018.*
Attach thermostat leads to:
1) Grounded side of the transformer secondary; and
2) Motor relay coil.
It does not matter which lead attaches to each location.
Transformer wiring diagram:
Bekijk gratis de handleiding van Vestil HDD-72-15-P, stel vragen en lees de antwoorden op veelvoorkomende problemen, of gebruik onze assistent om sneller informatie in de handleiding te vinden of uitleg te krijgen over specifieke functies.
Productinformatie
Merk | Vestil |
Model | HDD-72-15-P |
Categorie | Niet gecategoriseerd |
Taal | Nederlands |
Grootte | 6250 MB |