Vestil EPT-2796-45 handleiding
Handleiding
Je bekijkt pagina 9 van 51

Rev. 0213 EPT, Manual.doc
Copyright 2013 Vestil Manufacturing Corp. Page 9 of 51
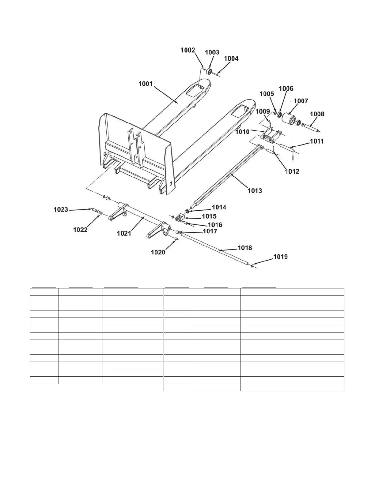
Item No. Part No. Description Item No. Part No. Description
1001 EPT-30-1001 Fork Assembly 1012 EPT-30-1012-2 Push Rod Pin (Hole in Center)
1002 EPT-30-1002 M6 Nut 1013 EPT-30-1013 40” Push Rod
1003 EPT-30-1003 Nose Wheel 1013-2 EPT-30-1013-2 37-1/2” Push Rod
1004 EPT-30-1004 M6 x 45 Screw 1014 EPT-30-1014 Lock Nut
1005 EPT-30-1005 Snap Ring 1015 EPT-30-1015 Clevis
1006 EPT-30-1006 Ball Bearing 6204z 1016 EPT-30-1016 Clevis Pin
1007 EPT-30-1007 75 x 96 Load Roller 1017 EPT-30-1017 22 x 20 Sleeve Bearing
1008 EPT-30-1008 Load Roller Axle 1018 EPT-30-1018 Trunion Shaft
1009 EPT-30-1009 5 x 30 Roll Pin 1019 EPT-30-1019 16mm Snap Ring
1010 EPT-30-1010 Load Roller Bracket 1020 EPT-30-1020 16 x 16 Clevis Pin Sleeve Bearing
1011 EPT-30-1011 Bracket Pin 1021 EPT-30-1021-25 Trunion (Model EPT-2547-30)
Not Shown
EPT-30-EXT-RL
Steel Exit Roller 1021 EPT-30-1021-20 Trunion (Model EPT-2047-30)
1012 EPT-30-1012 Push Rod Pin 1022 EPT-30-1022 22mm Snap Ring
1023 EPT-30-1023 Pin
FIG. 4A: EPT-30 MODELS FORK AND CARRIAGE
Bekijk gratis de handleiding van Vestil EPT-2796-45, stel vragen en lees de antwoorden op veelvoorkomende problemen, of gebruik onze assistent om sneller informatie in de handleiding te vinden of uitleg te krijgen over specifieke functies.
Productinformatie
Merk | Vestil |
Model | EPT-2796-45 |
Categorie | Vorkheftruck |
Taal | Nederlands |
Grootte | 39822 MB |