Vestil EPT-1540-26 handleiding
Handleiding
Je bekijkt pagina 7 van 58

TABLE OF CONTENTS 5/19/2022 EPT MANUAL
TABLE OF CONTENTS Copyright 2021 Vestil Manufacturing Page 7 of 58
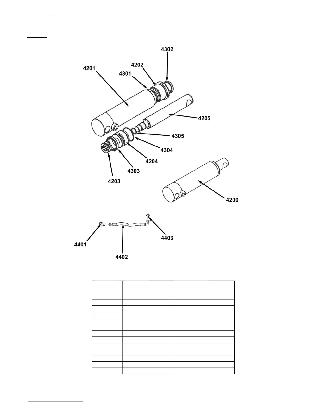
Item No.
Part No.
Description
4200
EPT-30-4200
Cylinder Assembly
4201
EPT-30-4201
Cylinder Body Tube
4202
EPT-30-4202
Gland Tube
4203
EPT-30-4203
Nut
4204
EPT-30-4204
Piston
4205
EPT-30-4205
Piston Rod
4301
EPT-30-4301
O-Ring
4302
EPT-30-4302
Seal Ring
4303
EPT-30-4303
Seal Ring
4304
EPT-30-4304
O-Ring
4305
EPT-30-4305
O-Ring
4401
EPT-30-4401
4402
EPT-30-4402
Hydraulic Hose
4403
EPT-30-4403
4300
EPT-30-4300
Seal Kit (EPT 30 & 45)
FIG.
2:
EPT-30
M
ODELS
H
YDRAULIC
C
YLINDER
A
SSEMBLY
Bekijk gratis de handleiding van Vestil EPT-1540-26, stel vragen en lees de antwoorden op veelvoorkomende problemen, of gebruik onze assistent om sneller informatie in de handleiding te vinden of uitleg te krijgen over specifieke functies.
Productinformatie
Merk | Vestil |
Model | EPT-1540-26 |
Categorie | Vorkheftruck |
Taal | Nederlands |
Grootte | 48560 MB |