Vestil AIR-1500-D handleiding

9 pagina's
PDF beschikbaar

Handleiding

Je bekijkt pagina 4 van 9
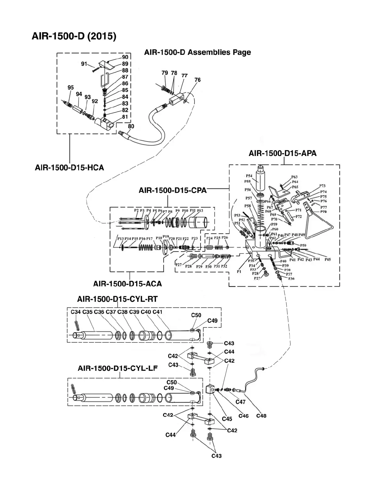
rev. 2/10/2016 Product manual, operation instructions.doc
Copyright 2013 Vestil Manufacturing Corp. Page 4 of 9

Bekijk gratis de handleiding van Vestil AIR-1500-D, stel vragen en lees de antwoorden op veelvoorkomende problemen, of gebruik onze assistent om sneller informatie in de handleiding te vinden of uitleg te krijgen over specifieke functies.

Productinformatie

MerkVestil
ModelAIR-1500-D
CategorieNiet gecategoriseerd
TaalNederlands
Grootte3046 MB