Vestel VEK24046 handleiding
Handleiding
Je bekijkt pagina 49 van 83

FR - 11
2. INSTALLATION ET
PRÉPARATION À L’UTILISATION
AVERTISSEMENT : Cet appareil doit
être installé par un professionnel
agréé ou par un technicien qualifié,
conformément aux instructions de cette
notice et conformément aux normes
d’installation en vigueur.
• Toute installation incorrecte invalide
la garantie et peut entraîner des
dommages ou des blessures pour
lesquels le fabricant ne peut être tenu
responsable.
• Avant l’installation, s’assurer que les
conditions locales de la distribution
(tension et fréquence de l’électricité)
et les réglages de l’appareil sont
compatibles. Les conditions de réglage
de cet appareil figurent sur l’étiquette.
• Les lois, réglementations, décrets
et normes en vigueur dans le pays
d’installation doivent être appliqués
(règles de sécurité, recyclage
conformément à la réglementation,
etc.).
2.1.
instructions destinées
à l’instAllAteur
Instructions générales
• Après avoir retiré les matériaux
d’emballage de l’appareil et de ses
accessoires, vérifier que l’appareil
n’est pas endommagé. Si l’appareil
est peut-être endommagé, ne pas
l’utiliser et contacter immédiatement un
professionnel agréé ou un technicien
qualifié.
• Vérifier qu’aucun élément ou matériau
combustible ou inflammable, par
exemple un rideau, de l’huile, un
tissu, etc., ne se trouve à proximité
immédiate.
• Le plan de travail et les meubles autour
de l’appareil doivent pouvoir supporter
une température supérieure à 100 °C.
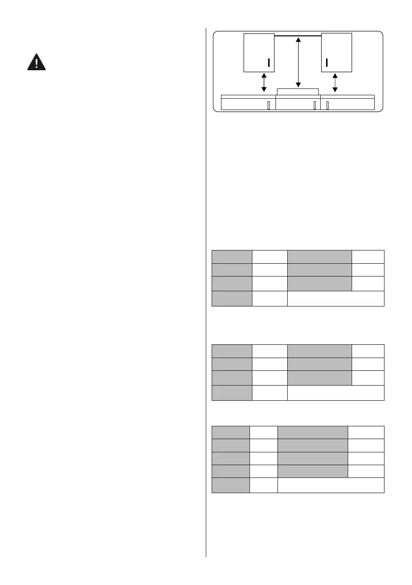
• Si une hotte ou un placard doit être
installé au-dessus de l’appareil, la
distance de sécurité entre le plan de
cuisson et le placard ou la hotte doit
correspondre à celle présentée sur la
figure ci-dessous.
Table de
cuisson
Minimum
42 cm
Minimum
42 cm
Minimum
65 cm (avec
hotte)
Minimum
70 cm (sans
hotte)
Cet appareil ne doit pas être installé
directement au-dessus d’un lave-vaisselle,
d’un réfrigérateur, d’un congélateur, d’un
lave-linge ou d’un sèche-linge.
2.2.
instAllAtion des AppAreils
Les appareils sont fournis avec des kits
d’installation et peuvent être installés sur
un plan de travail de dimensions adaptées.
Les dimensions d’installation de la table
de cuisson et du four sont indiquées ci-
dessous.
Dimensions d’installation de la table de
cuisson
A1 (mm) 580 E1 (mm) 490
B1 (mm) 510 min. F1 (mm) 50
C1 (mm) 40 min. G1 (mm) 50
D1 (mm) 560
Dimensions d’installation des plaques
vitrocéramique
A1 (mm) 590 E1 (mm) 490
B1 (mm) 520 min. F1 (mm) 50
C1 (mm) 41 min. G1 (mm) 50
D1 (mm) 560
Dimensions d’installation du four
A2 (mm) 557 E2 (mm) 574
B2 (mm) 550 min. F2 (mm) 560-580
C2 (mm) 595 min. G2 /J2 (mm) 555/5
D2 (mm) 575 H2 (mm) 600
I2(mm) 25
Bekijk gratis de handleiding van Vestel VEK24046, stel vragen en lees de antwoorden op veelvoorkomende problemen, of gebruik onze assistent om sneller informatie in de handleiding te vinden of uitleg te krijgen over specifieke functies.
Productinformatie
| Merk | Vestel |
| Model | VEK24046 |
| Categorie | Niet gecategoriseerd |
| Taal | Nederlands |
| Grootte | 6023 MB |







