Handleiding
Je bekijkt pagina 37 van 44

15
4. NAVIGATION À L’ÉCRAN ACL
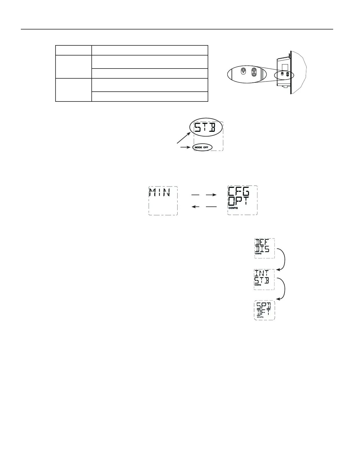
APPUYER SUR LE BOUTON OK
DURANT 4 SECONDES POUR
MODIFIER LA CONFIGURATION
DES OPTIONS.
POUR CHAQUE
CONFIGURATION
D’OPTION, UTILISER
LE BOUTON + POUR
FAIRE DÉFILER
VERS LE HAUT
LES OPTIONS
DISPONIBLES OU
LE BOUTON -
POUR FAIRE
DÉFILER VERS LE
BAS LES OPTIONS
DISPONIBLES. UNE
FOIS LA SÉLECTION
DE L’OPTION FAITE,
APPUYER SUR
LE BOUTON OK
POUR CONFIRMER
LA SÉLECTION.
LA PROCHAINE
CONFIGURATION
D’OPTION
S’AFFICHERA.
UTILISER LA COMMANDE
MURALE PRINCIPALE POUR
CHANGER LE MODE DE
FONCTIONNEMENT DE
L’APPAREIL.
VQ0210
VQ0201
+
-
+
-
OK
VD0492
Bouton OK Pour confi rmer une sélection.
Bouton + Pour augmenter une valeur.
Pour faire défi ler une sélection vers le haut.
Bouton - Pour diminuer une valeur.
Pour faire défi ler une sélection vers le bas.
VQ0212
Indique le
mode actuel
APPUYER SUR LE BOUTON + OU LE BOUTON - POUR MODIFIER LA CONFIGURATION DES OPTIONS.
VQ0197
VQ0200
VQ0221
MODE
Bekijk gratis de handleiding van Venmar HRV110, stel vragen en lees de antwoorden op veelvoorkomende problemen, of gebruik onze assistent om sneller informatie in de handleiding te vinden of uitleg te krijgen over specifieke functies.
Productinformatie
| Merk | Venmar |
| Model | HRV110 |
| Categorie | Airco |
| Taal | Nederlands |
| Grootte | 5800 MB |


