Handleiding
Je bekijkt pagina 15 van 44

15
4. NAVIGATION ON LCD SCREEN
+
-
OK
VD0492
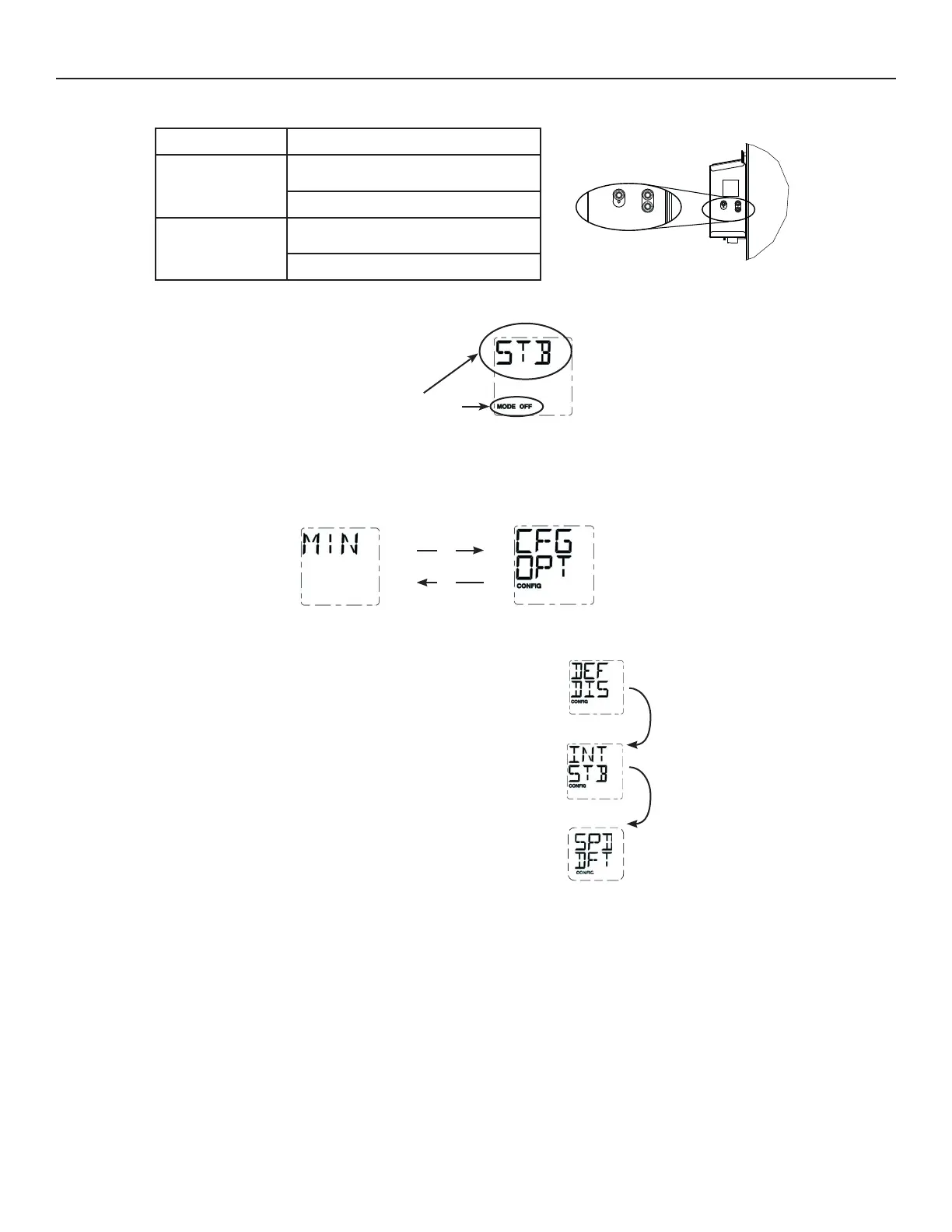
OK button To confi rm a selection.
+ button
To increase a value.
To scroll up in a selection.
- button
To decrease a value.
To scroll down in a selection.
VQ0212
Indicates current
mode
VQ0210
VQ0201
+
-
PRESS ON + BUTTON OR - BUTTON TO MODIFY OPTIONS CONFIGURATION.
PRESS ON OK BUTTON DU-
RING 4 SECONDS TO MODIFY
OPTIONS CONFIGURATION.
VQ0197
VQ0200
FOR EACH
OPTION
CONFIGURATION,
USE + BUTTON
TO SCROLL UP
IN OPTIONS
AVAILABLE OR
- BUTTON TO
SCROLL DOWN
IN OPTIONS
AVAILABLE.
ONCE OPTION
SELECTION IS
DONE, PRESS
OK BUTTON
TO CONFIRM
SELECTION. THE
NEXT OPTION
CONFIGURATION
WILL THEN
DISPLAY.
VQ0221
USE MAIN WALL CONTROL
TO CHANGE UNIT OPERATING
MODE.
MODE
Bekijk gratis de handleiding van Venmar HRV110, stel vragen en lees de antwoorden op veelvoorkomende problemen, of gebruik onze assistent om sneller informatie in de handleiding te vinden of uitleg te krijgen over specifieke functies.
Productinformatie
| Merk | Venmar |
| Model | HRV110 |
| Categorie | Airco |
| Taal | Nederlands |
| Grootte | 5800 MB |


