Handleiding
Je bekijkt pagina 67 van 84

65
15 INCH & 24 INCH INSTALL GUIDE
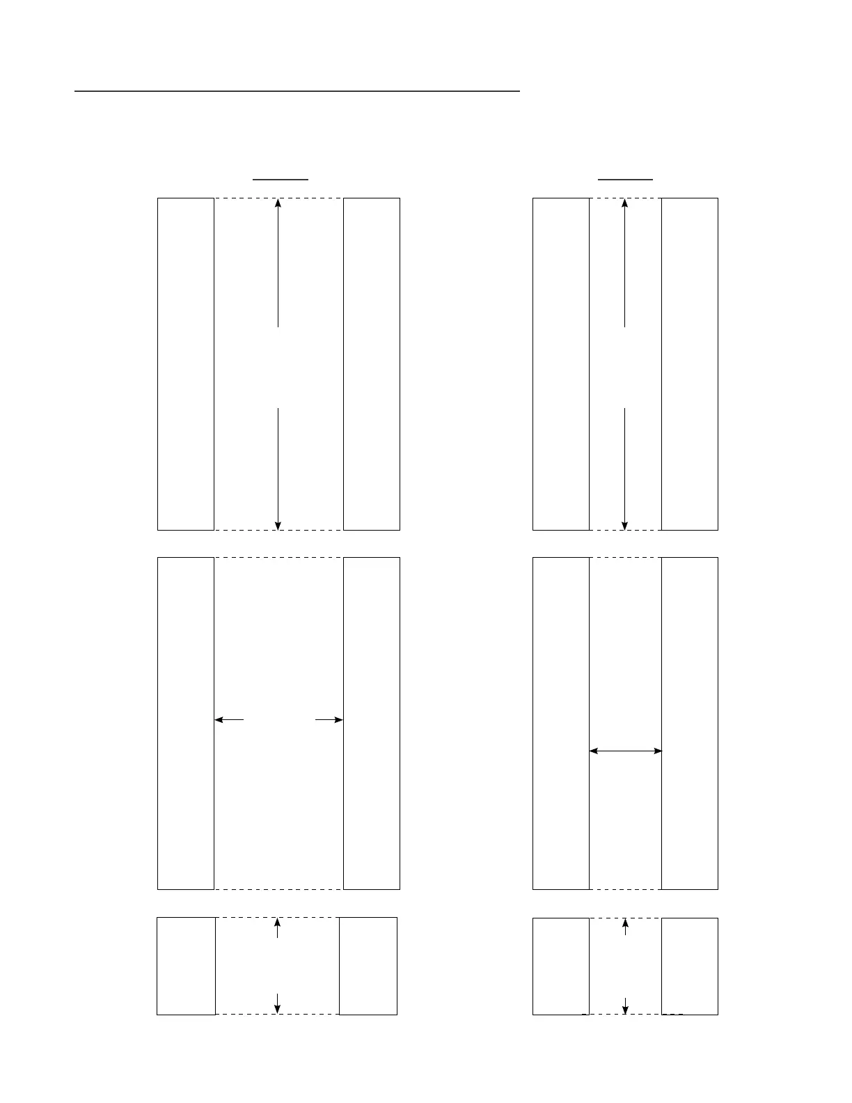
INSTALLATION SPECIFICATIONS - STACKED UNITS
(SOLID AND GLASS DOOR AND OVERLAY PANELS
True’s stacked units are designed to be inserted into a cabinet opening or free standing.
Below are recommended dimensions for rough opening.
Rough Opening
HEIGHT
69
1/2
"
Rough Opening
DEPTH
24"
Rough Opening
WIDTH
24"
24 INCH
Rough
Opening
HEIGHT
69
1/2
"
Rough
Opening
DEPTH
24"
Rough
Opening
WIDTH
15"
15 INCH
Bekijk gratis de handleiding van True TUF-24-L-SS-C, stel vragen en lees de antwoorden op veelvoorkomende problemen, of gebruik onze assistent om sneller informatie in de handleiding te vinden of uitleg te krijgen over specifieke functies.
Productinformatie
| Merk | True |
| Model | TUF-24-L-SS-C |
| Categorie | Vriezer |
| Taal | Nederlands |
| Grootte | 18882 MB |







