True Palladium TMS16000 handleiding
Handleiding
Je bekijkt pagina 28 van 86

True Fitness Technology • O’Fallon, MO • Phone: 800-426-6570/636-272-7100 • Truetness.com
Page # 28 of 86
CHAPTER 2: ASSEMBLY GUIDE
Strength
Palladium Modular Training Systems
PRE-ASSEMBLY CHECKLIST:
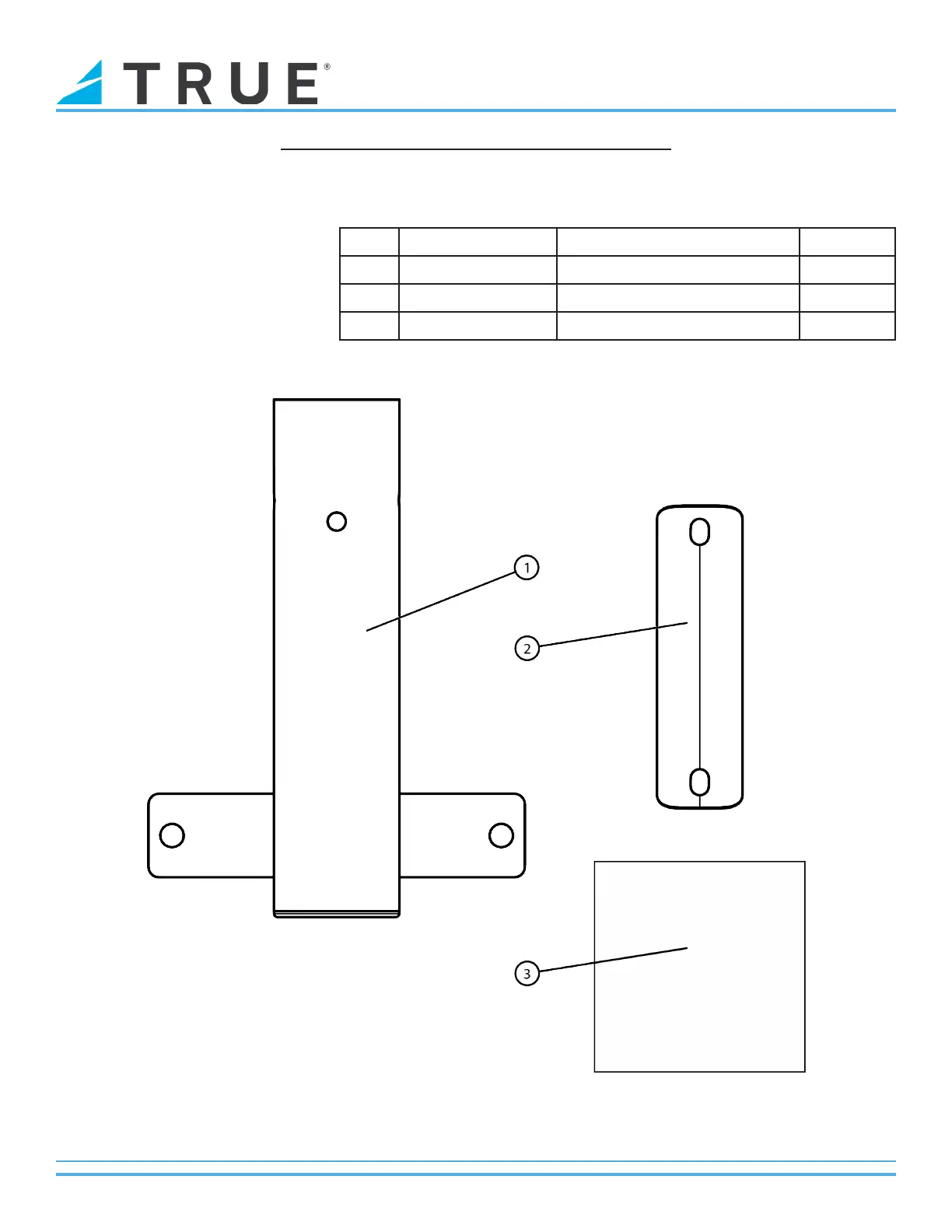
TMS0005 Carton Contents:
Item Part Number Description Quantity
1 TMS00050 Upper Assembly Frame 1
2 TMS0002305 Bracket, Connector 1
3 TMS0005HW Hardware Pack, TMS0005 1
Bekijk gratis de handleiding van True Palladium TMS16000, stel vragen en lees de antwoorden op veelvoorkomende problemen, of gebruik onze assistent om sneller informatie in de handleiding te vinden of uitleg te krijgen over specifieke functies.
Productinformatie
| Merk | True |
| Model | Palladium TMS16000 |
| Categorie | Niet gecategoriseerd |
| Taal | Nederlands |
| Grootte | 18763 MB |







