Tripp Lite B007-008 handleiding
Handleiding
Je bekijkt pagina 6 van 64

6
Installation:
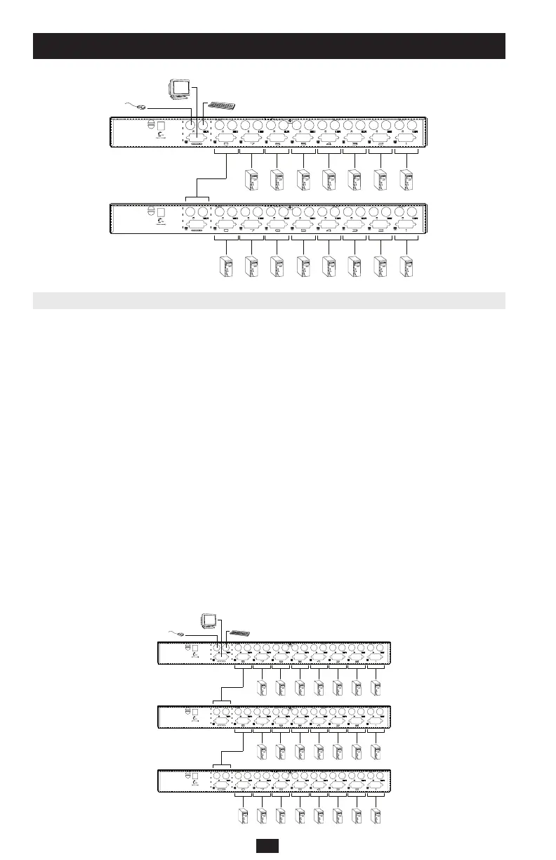
Three-Stage Installation
The procedures for setting up a Three-Stage installation are essentially the same as for a Two-Stage
installation. Up to 512 PCs can be controlled in a complete Three-Stage installation. A table showing
the relationship between the number of PCs and the number of KVM Switch units needed to control
them is provided in the Appendix.
Note: KVM Switch units cannot be cascaded beyond the third level.
To set up a three-stage installation, do the following:
1. All KVM Switches and PCs must be turned off – including preexisting devices on the installation.
2. Use a cable kit (see Hardware Requirements section), to connect from the Console Port connectors
of the Third Stage KVM Switch unit to any available CPU Port on the Second Stage unit.
3. Use cable kits (see Hardware Requirements section), to connect the monitor, keyboard and mouse
ports of the PCs you want to control to any available CPU Port on the Third Stage unit, as shown in
the diagram below.
4. Plug the power adapter into the Power Jack on the Third-Stage KVM.
5. Repeat steps 2 - 4 for any other Third-Stage units you wish to connect.
6. Plug in the power adapters for all the Second-Stage KVM Switches.
7. Plug in the power adapter for the First Stage KVM Switches.
8. Turn on the power to all the connected PCs.
Note: A KVM switch is powered on when it is connected to the AC via the power adapter. The Power On sequence
requires that all Third Stage units be powered on, then all Second Stage units must be powered on and finally all First
Stage unit must be powered on. The computers can be turned on once all the KVM Switches have been powered on.
200603163 93-2538 B007-008 manual.qxd 4/19/2006 1:45 PM Page 6
Bekijk gratis de handleiding van Tripp Lite B007-008, stel vragen en lees de antwoorden op veelvoorkomende problemen, of gebruik onze assistent om sneller informatie in de handleiding te vinden of uitleg te krijgen over specifieke functies.
Productinformatie
Merk | Tripp Lite |
Model | B007-008 |
Categorie | Niet gecategoriseerd |
Taal | Nederlands |
Grootte | 6887 MB |
Caratteristiche Prodotto
Kleur van het product | Zwart |
Ingebouwd display | Nee |
LED-indicatoren | Ja |
Maximum resolutie | 1920 x 1440 Pixels |
Duurzaamheidscertificaten | RoHS |