Toro 23800W handleiding
Handleiding
Je bekijkt pagina 27 van 100

Exit-Side-LockoutSystem(Standard
Range)
Theexit-side-lockoutsystemprovidestheindividualsworking
aroundthemachinewithameanstodisablethedrillpipe
fromrotatingandthrusting.
Formoreinformationandinstructions,refertotheOperator’s
ManualfortheExit-side-lockoutsystem.
Exit-Side-LockoutSystem(Long
Range)
Theexit-side-lockoutsystemprovidestheindividualsworking
aroundthemachinewithameanstodisablethedrillpipe
fromrotatingandthrusting.
Formoreinformationandinstructions,refertotheOperator’s
ManualfortheExit-side-lockoutsystem.
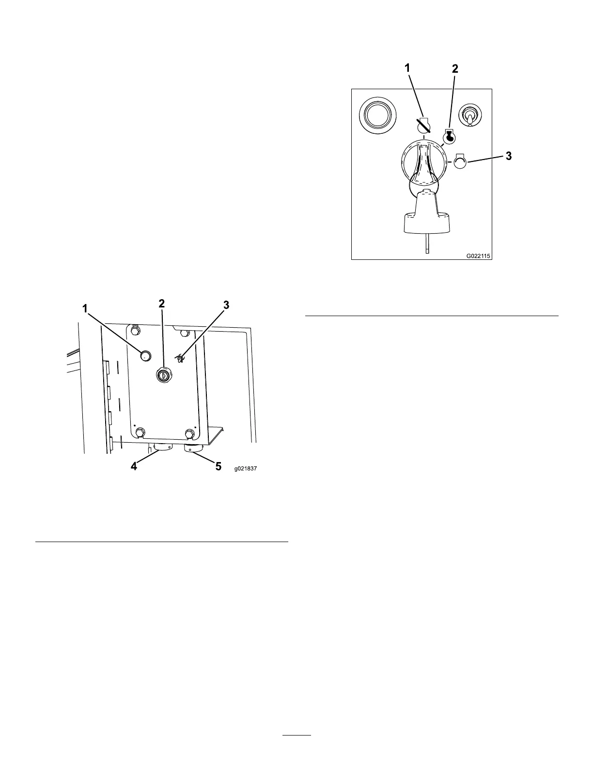
RearControlPanel
g021837
1
2
3
4
5
Figure17
1.Engine-heatinglight4.Drill-pendantreceptacle
2.Engine,keyswitch5.Drive-pendantreceptacle
3.Fluid-pumpswitch
Engine-HeatingLight
Whentheengineiscold,theheaterwarmstheintakeairto
enableeasierstarting.Thislightilluminateswhiletheheateris
on.Waituntilthislightturnsoffbeforestartingtheengine.
Engine,KeySwitch
Thekeyswitchhas3positionsasfollows(Figure18):
1
2
3
G0221 15
Figure18
1.Engine-offposition
3.Engine-startposition
2.Engine-runposition
•Engine-offposition—turnthekeytothispositionto
stoptheengine.Theenginecannotbestartedfromthe
operatorplatformwhenthekeyisinthisposition.
•Engine-runposition—turnthekeytothispositionafter
startingtheengine.Turningthekeytothisposition
alsoenablestheenginestartbuttonfromtheoperator
platform.
•Engine-startposition—turnthekeytothispositionto
starttheengine.ReleasethekeytotheRUNpositiononce
theenginehasstarted.
Fluid-PumpSwitch
Usethisswitchtoturnontheuidpumptousethespraygun
whencleaningthemachine.
Drill-PendantReceptacle
Plugthedrillpendantintothisreceptacletoattachittothe
machine(Figure17).
Drive-PendantReceptacle
Plugthedrivependantintothisreceptacletoattachittothe
machine(Figure17).
27
Bekijk gratis de handleiding van Toro 23800W, stel vragen en lees de antwoorden op veelvoorkomende problemen, of gebruik onze assistent om sneller informatie in de handleiding te vinden of uitleg te krijgen over specifieke functies.
Productinformatie
Merk | Toro |
Model | 23800W |
Categorie | Niet gecategoriseerd |
Taal | Nederlands |
Grootte | 19211 MB |