Tornado TWV-FN1012 handleiding
Handleiding
Je bekijkt pagina 24 van 34

EN - 21EN - 21
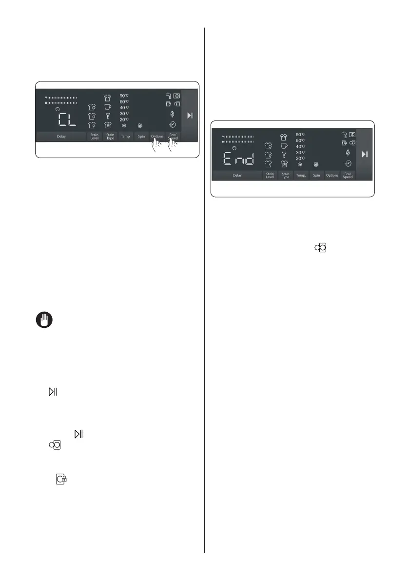
To activate child lock, press and hold
button 2 and 3 simultaneously for at
least 3 seconds. ‘’CL’’ will flash on the
electronic display for 2 seconds when the
child lock is activated.
2 3
If any button is pressed or selected
programme is changed by the programme
dial while the child lock is active, the “CL”
symbol will flash on the electronic display
for 2 seconds.
If the child lock function is active and
a programme is running, when the
programme dial is turned to the “Off”
position and another programme
is selected the previously selected
programme continues from where it was
left.
To deactivate the child lock, press and
hold button 2 and 3 simultaneously for at
least 3 seconds until the “CL” symbol on
the electronic display disappears.
Note: Door remains unlocked in case
when child lock is active and electricity is
cut off
5.10 If you want to pause/cancel a
running program or add laundry:
• symbol key allows you to pause
or restart the selected program. When
you want to add laundry, you can use
this function.
• Touch symbol button for this. If
is displayed on the screen, you
can open the loading door and add
laundry.
• If is displayed on the screen, the
step where you can add laundry has
passed.
• If you want to cancel a running
program, turn the program knob to
“CANCEL” position. Your machine
will stop washing process and the
program will be cancelled. To drain
the water in the machine, turn
the program knob to any program
position. Your machine will drain the
water and cancel the program. You
can select a new program and start
the machine.
5.11 Program End
Your machine will automatically stop
when the selected program ends.
• “End” will appear on the electronic
display.
• You can open the door and take
out the laundry. After taking out the
laundry, leave the door open so that
the inside of the machine can dry.
• Turn the program knob to CANCEL
position.
• Unplug the machine.
• Turn off the water tap.
Bekijk gratis de handleiding van Tornado TWV-FN1012, stel vragen en lees de antwoorden op veelvoorkomende problemen, of gebruik onze assistent om sneller informatie in de handleiding te vinden of uitleg te krijgen over specifieke functies.
Productinformatie
| Merk | Tornado |
| Model | TWV-FN1012 |
| Categorie | Wasmachine |
| Taal | Nederlands |
| Grootte | 3239 MB |







