Tomahawk TVSA-H handleiding
Handleiding
Je bekijkt pagina 18 van 29

1718
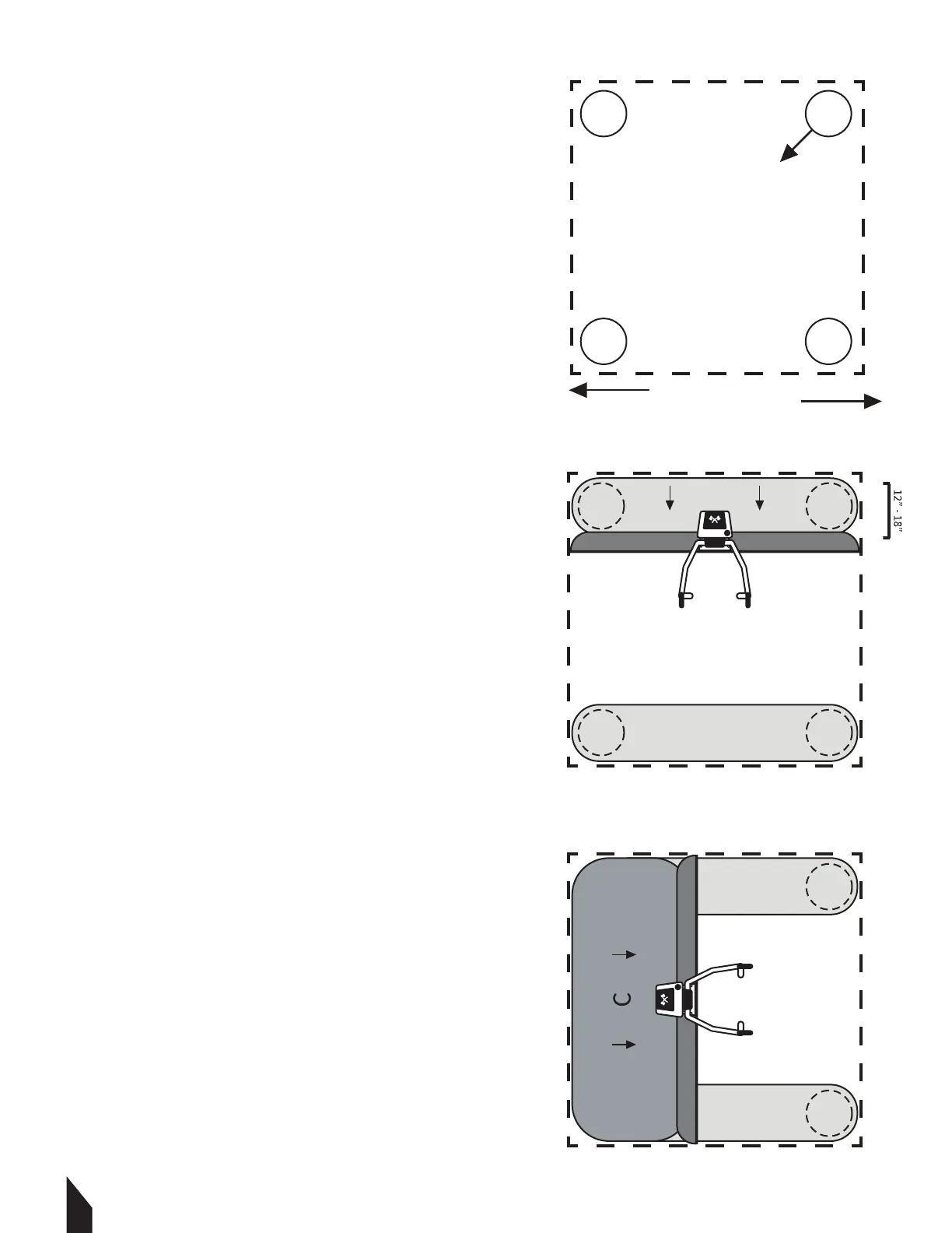
11. HOW TO WET SCREED
11.1 Set the Elevation of the Slab
11.1.1 Use grade pins (A) to set the height of
the slab. Position in the middle of the pour.
11.1.2 To set the elevation around the walls,
use chalk lines or expansion joints.
11.1.3 In areas where there are no walls, use
form boards to set the elevation.
11.2 Make Wet Pads
11.2.1 Use the float to create wet pads around
all of the grade pins (A).
Make sure that the distance between the
wet pads is shorter than the length of the
blade being used.
11.2.2 Form rows (B) with the blade to smooth
from one wet pad to the next.
11.2.3 Aer all of the rows are formed, run the
screed blade off of the two rows leveling the
previously untouched concrete (C) in between.
Prior to running the blade off, make sure
that the height of the concrete in area (C) is
slightly taller than the wet pad rows in area
(B).
11.2.4 Once the floating is completed, the wet
pads and concrete will all be smoothed out to
the same height.
1
2
3
Bekijk gratis de handleiding van Tomahawk TVSA-H, stel vragen en lees de antwoorden op veelvoorkomende problemen, of gebruik onze assistent om sneller informatie in de handleiding te vinden of uitleg te krijgen over specifieke functies.
Productinformatie
| Merk | Tomahawk |
| Model | TVSA-H |
| Categorie | Niet gecategoriseerd |
| Taal | Nederlands |
| Grootte | 9404 MB |

