Handleiding
Je bekijkt pagina 24 van 32

24
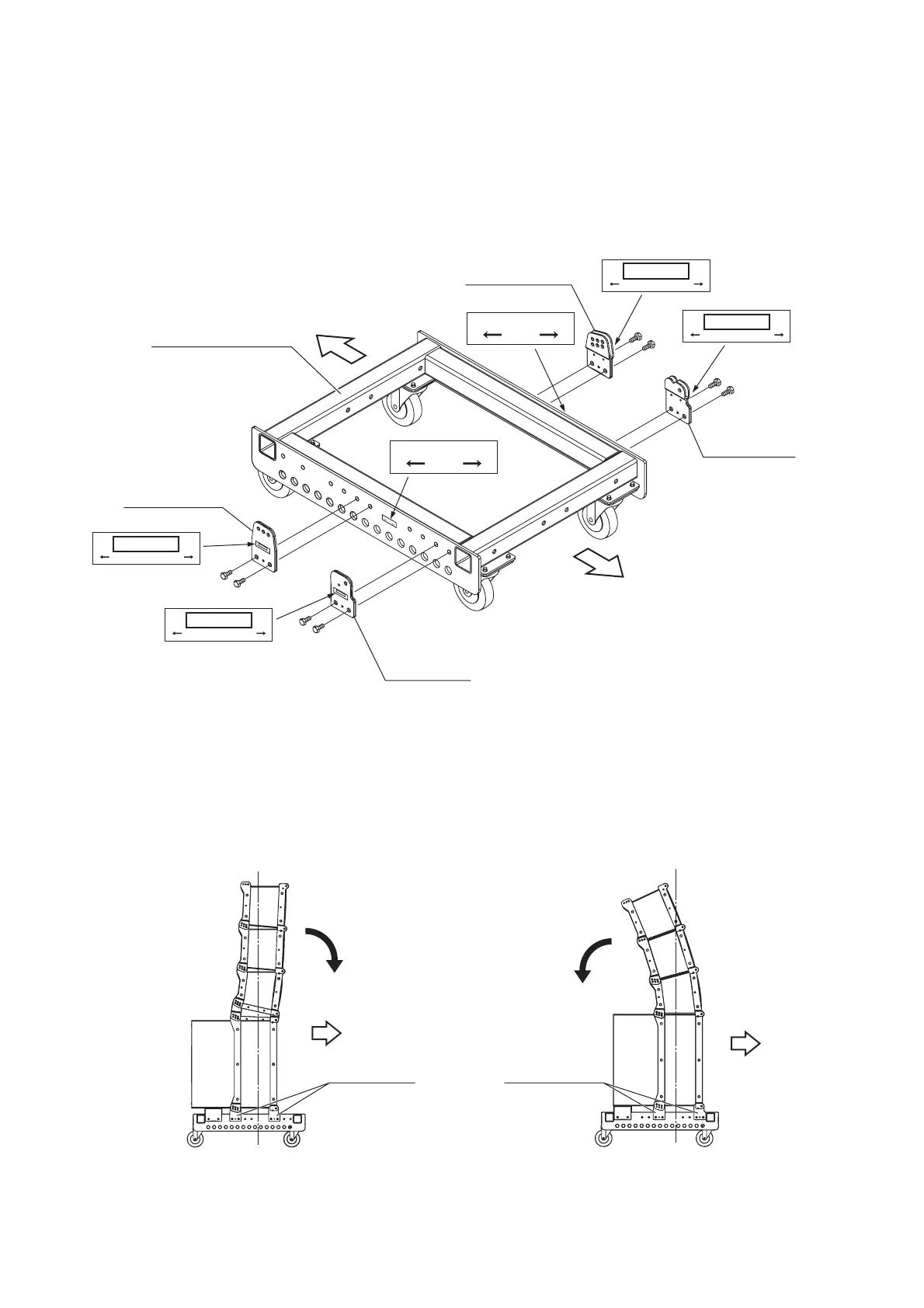
11.2. Assembling the SR-RF8 Rigging Frame
Before assembly, first determine whether to set the mounting position of the fixing plate at the center or
forward, taking the stack system's center of gravity into consideration.
Ensure that fixing plates are correctly secured using two bolts (including plain and spring washers) supplied
with the rigging frame for each plate.
Since each fixing plate has its own installation position and orientation, assemble it referring to the figure.
FRONT
REAR
Fixing plate
[Rear B]
Fixing plate
[Front B]
Fixing plate
[Front A]
Fixing plate
[Rear A]
Rigging frame
SR-RF8
*Mount each plate in compliance with the
indication on its corresponding seal.
Seal
Seal
Seal
Seal
Seal
Seal
FrontRear
Front
Rea
r
RearFront
Front A
Front Rear
Rear A
Front Rear
Front B
Rear Front
Rear B
Rear Front
R
ea
r B
Rea
r
Front
Fron
t B
Rear
Fro
nt
Front
Fixing plateFixing plate
When attaching the fixing plate at the center When attaching the fixing plate forward
Attach at the center when the center of
gravity is shifted forward.
Attach forward when the center of
gravity is shifted backward
Front
The center of gravity is
shifted backward.
The center of gravity is
shifted forward.
Bekijk gratis de handleiding van Toa SR-SB8, stel vragen en lees de antwoorden op veelvoorkomende problemen, of gebruik onze assistent om sneller informatie in de handleiding te vinden of uitleg te krijgen over specifieke functies.
Productinformatie
Merk | Toa |
Model | SR-SB8 |
Categorie | Speaker |
Taal | Nederlands |
Grootte | 3113 MB |