Tesla Smart Plug Dual handleiding
Handleiding
Je bekijkt pagina 18 van 56

18
Děkujeme!
Děkujeme za zakoupení chytré zástrčky. Chceme našim
zákazníkům poskytovat vysoce kvalitní produkty, které
jim pomůžou užít si chytřejší a lepší život.
Balení obsahuje
1x Chytrá zástrčka
1x Uživatelská příručka
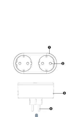
Popis přístroje
1.Chytrá zásuvka
2.Elektrické zásuvka
3.Tlačítko napájení
4.Zástrčka /vidlice?
Bekijk gratis de handleiding van Tesla Smart Plug Dual, stel vragen en lees de antwoorden op veelvoorkomende problemen, of gebruik onze assistent om sneller informatie in de handleiding te vinden of uitleg te krijgen over specifieke functies.
Productinformatie
| Merk | Tesla |
| Model | Smart Plug Dual |
| Categorie | Niet gecategoriseerd |
| Taal | Nederlands |
| Grootte | 2325 MB |
Caratteristiche Prodotto
| Kleur van het product | Wit |
| Ingebouwd display | Nee |
| Maximaal ingangsvermogen | 3680 W |
| Aan/uitschakelaar | Ja |
| Wi-Fi-standaarden | 802.11b, 802.11g, Wi-Fi 4 (802.11n) |






