Tesla Cook BBQ150 handleiding
Handleiding
Je bekijkt pagina 41 van 48

www.tesla-electronics.eu
41
INSTALLATION
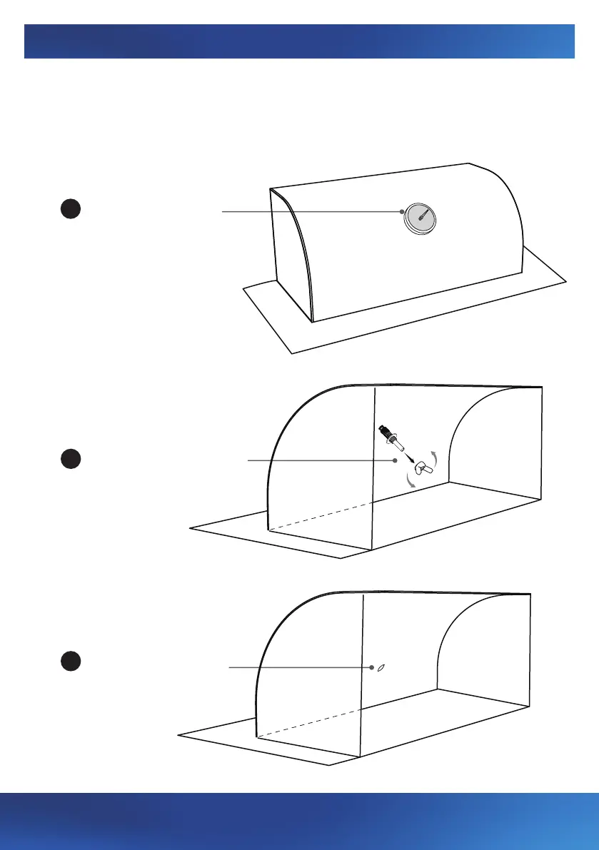
Replace your old analog thermometer and turn your grill into a smart one with the
TESLA Cook BBQ150. All you need to do is two simple steps:
STEP 1:
Get rid of your old
analog thermometer.
1
Unscrew the nut
on the inside of the cover.
2
3
Remove the analog
thermometer.
Bekijk gratis de handleiding van Tesla Cook BBQ150, stel vragen en lees de antwoorden op veelvoorkomende problemen, of gebruik onze assistent om sneller informatie in de handleiding te vinden of uitleg te krijgen over specifieke functies.
Productinformatie
| Merk | Tesla |
| Model | Cook BBQ150 |
| Categorie | Niet gecategoriseerd |
| Taal | Nederlands |
| Grootte | 6180 MB |





