Tesla Cook BBQ150 handleiding
Handleiding
Je bekijkt pagina 17 van 48

www.tesla-electronics.eu
17
INŠTALÁCIA
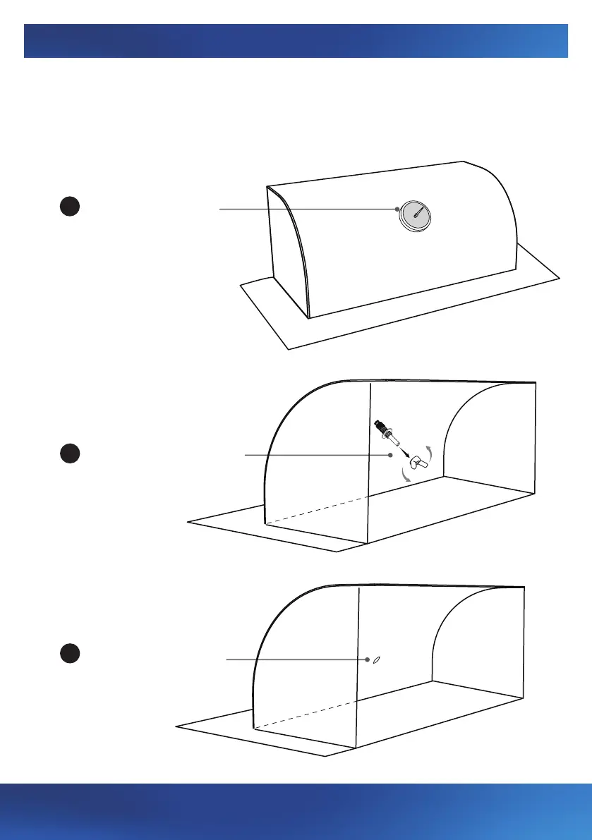
Vymeňte váš starý analógový teplomer a premeňte váš gril na smart vďaka TESLA
Cook BBQ150. Stačia vám na to dva jednoduché kroky:
KROK 1:
Odstráňte váš starý
analógový teplomer.
1
Odskrutkujte maticu
na vnútornej strane
krytu.
2
3
Vyberte analógový
teplomer.
Bekijk gratis de handleiding van Tesla Cook BBQ150, stel vragen en lees de antwoorden op veelvoorkomende problemen, of gebruik onze assistent om sneller informatie in de handleiding te vinden of uitleg te krijgen over specifieke functies.
Productinformatie
| Merk | Tesla |
| Model | Cook BBQ150 |
| Categorie | Niet gecategoriseerd |
| Taal | Nederlands |
| Grootte | 6180 MB |




