Handleiding
Je bekijkt pagina 36 van 80

TR
36
Güvenlik Uyarıları:
Seramik cam
kırılır veya çatlarsa,
elektrik çapmasından
kaçınmak için derhal
ocağın şini çıkarın.
Bu cihaz, harici bir
zamanlayıcı (cihaza
monte değildir) veya
ayrı bir uzaktan
kumanda sistemi ile
çalıştırılmak için
tasarlanmamıştır.
Bu cihazı buharla
temizlemeyin.
Cihaz ve erişilebilir
parçaları çalışma
sırasında ısınabilir.
Isınan parçalara
dokunmaktan
kaçının. 8 yaşından
küçük çocuklar daimi
bir şekilde
denetlenmedikçe,
ocaktan uzak
tutulmalıdır.
Bu cihaz, sadece
8 yaş ve üzeri çocuklar
tarafından, fiziksel,
duyusal veya mental
kabiliyet bozuklukları
veya bilgi ve tecrübe
eksikliği olanlarda ise
sadece
denetlendiğinde veya
cihazın kullanımı ile
ilgili yeteri bilgi
verildiğinde ve
kullanımın mevcut
tehlikeleri
anlatıldığında
kullanılabilir. Temizlik
ve bakım işlemleri ise
denetimsiz çocuklar
tarafından
gerçekleştirilemez.
Çocuklar cihaz ile
oynamamalıdır.
Dikkat: Yağsız
pişirmek tehlikelidir;
çünkü alev alabilir.
Yangını asla su ile
söndürmeye
çalışmayın. Bu
durumda, cihazın
bağlantısını kesin ve
kapak, tabak veya
battaniye ile alevleri
kapatın.
Ocağın pişirme
alanlarına herhangi
bir eşya koymayın.
Muhtemel yangın
tehlikesinden
kaçının.
“Ana elektrik
kablosu zarar
görmüşse, üretici
veya satış sonrası
hizmet birimi
tarafından
değiştirilmelidir.”
CAUTION:
DİKKAT: Sadece ev
eşyası üreticisi
tarafından uygun bir
şekilde tasarlanmış
pişirme yüzeyi
koruyucuları veya bu
cihazda hali hazırda
kullanılan
koruyucuları
kullanın. Uygun
olmayan
koruyucuların
kullanımı kazalara
sebebiyet verebilir.
Kurulum
Çatal bıçak kaşık çekmecesi ile
yerleşme
Ocağın altına mobilya veya bir
çekmece monte etmek isterseniz,
ikisinin arasına bir ayırma levhası
koymalısınız. Cihaz gövdesinin sıcak
yüzeyleri ile kazara temas böylelikle
önlenmiş olur.
Bu levha, ocağın alt kapağından 20
mm altına yerleştirilmelidir.
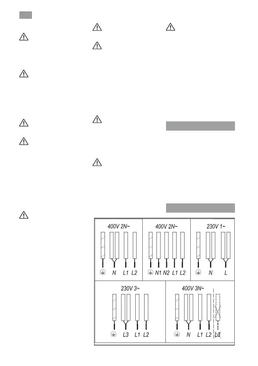
Elektrik Bağlantısı
şekil 2
yeşil-sarı
mavi
kahverengi
gri
siyah
yeşil-sarı
mavi
kahverengi
gri
siyah
yeşil-sarı
mavi
kahverengi
gri
siyah
yeşil-sarı
mavi
kahverengi
gri
siyah
yeşil-sarı
mavi
kahverengi
gri
siyah
L3 KULLANMAYIN
Bekijk gratis de handleiding van Teka TR 6320, stel vragen en lees de antwoorden op veelvoorkomende problemen, of gebruik onze assistent om sneller informatie in de handleiding te vinden of uitleg te krijgen over specifieke functies.
Productinformatie
| Merk | Teka |
| Model | TR 6320 |
| Categorie | Fornuis |
| Taal | Nederlands |
| Grootte | 13804 MB |







