Handleiding
Je bekijkt pagina 18 van 80

EN
18
Safety warnings:
If the ceramic glass
breaks or cracks,
immediately unplug
the hob to avoid
electric shocks.
This appliance is
not designed to work
with an external timer
(not built into the
appliance) or a
separate remote
control system.
Do not steam clean
this device.
The device and its
accessible parts may
heat up during
operation. Avoid
touching the heating
elements. Children
younger than 8 years
old must stay away
from the hob unless
they are permanently
supervised.
This device may
solely be used by
children 8 years old or
older, people with
impaired physical,
sensory or mental
abilities, or those who
are lack of experience
and knowledge, ONLY
when supervised or if
they have been given
adequate instruction
on the use of the
device and
understand the
dangers its use
involves. User
cleaning and
maintenance may not
be done by
unsupervised
children.
Children must not
play with the device.
Precaution. It is
dangerous to cook
with fat or oil without
being present, as
these may catch re.
Never try to extinguish
a re with water! in
this event disconnect
the device and cover
the ames with a lid,
a plate or a blanket.
Do not put any
object on the cooking
areas of the hob.
Prevent a possible
re hazard.
“If the mains cord
is damaged, should
be replaced by the
manufacturer or its
after sales service”
CAUTION: Use
only cooktop
protectors
appropriately
designed by the
household
manufacturer or the
protectors already
used in this appliance.
The use of
inappropriate
protectors could
cause accidents.
Installation
Emplacement with cutlery drawer
If you wish to mount furniture or a
drawer under the hob, a separation
board must be fitted between the
two. Accidental contact with the hot
surface of the device’s housing is thus
prevented.
The board must be tted 20 mm under
the bottom cover of the hob.
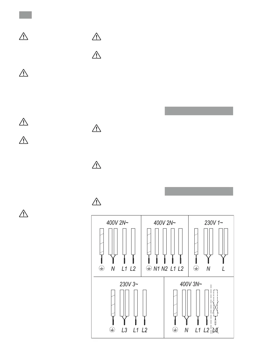
Electrical connection
Before you connect the hob to the
green-yellow
blue
brown
grey
black
green-yellow
blue
brown
grey
black
green-yellow
blue
brown
grey
black
green-yellow
blue
brown
grey
black
green-yellow
blue
brown
grey
black
g. 1
DO NOT USE L3
Bekijk gratis de handleiding van Teka TR 6320, stel vragen en lees de antwoorden op veelvoorkomende problemen, of gebruik onze assistent om sneller informatie in de handleiding te vinden of uitleg te krijgen over specifieke functies.
Productinformatie
| Merk | Teka |
| Model | TR 6320 |
| Categorie | Fornuis |
| Taal | Nederlands |
| Grootte | 13804 MB |







