Handleiding
Je bekijkt pagina 18 van 96

PT
/LJDomRGDSODFDGHFR]LQKDDRIRUQR
RXDRSDLQHOGHFRPDQGRV
3DUDDOLJDomRVmRIRUQHFLGRVFRPDSODFDGHFR]LQKD
TXDWUR DFFLRQDPHQWRV WHOHVFySLFRV FDUGDQ 9HU¿J
Para os aplicar deve proceder do seguinte modo:
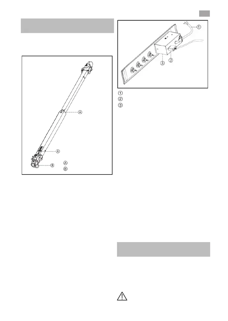
fig. 4
Unhas de retenção
Passadores
1 Desligue a corrente eléctrica.
2 Retire os accionamentos telescópicos, pressionando a
XQKDGHUHWHQomR$LQGLFDGDFRP386+FRPXPD
FKDYH GH SDUDIXVRV ¿QD H[WUDLD R H[WHQVtYHO DOJXQV
centímetros.
3 Retire os quatro passadores dos extremos (B).
,QWURGX]DSDUFLDOPHQWH RIRUQR QR ORFDOGH HQFDVWUH
WHQGRRFXLGDGRGHQmRSX[DURVTXDWURDFFLRQDPHQWRV
WHOHVFySLFRVTXH¿FDPSHQGXUDGRVQDSODFD9HU¿J
fig. 5
Cabo flexíbel de alimentação
Conector
Carcaça protectora do conjunto eléctrico
3DUDDOLJDomRHOpFWULFDHQWUHDSODFDHRIRUQROLJXHR
conector da placa ao forno.
,QWURGX]D WRWDOPHQWH R IRUQR QR ORFDO GH HQFDVWUH
WHQGRRFXLGDGRGHYHUL¿FDUVHRVFDUGDQVHVWmREHP
DFRSODGRVHVHRVWXERVWHOHVFySLFRVHVWmREHPDOLQ-
KDGRVSDUDSHUPLWLUXPPHOKRUGHVOL]DPHQWR
&RORTXHRVERW}HVQDIUHQWHGRIRUQR
3DUDPDQXVHDURVERW}HVSUHVVLRQHSDUDGHQWURHGH
VHJXLGDURGHSDUDOLEHUWDURGLVSRVLWLYRGHVHJXUDQoD
9LVWDSRVWHULRUGR3DLQHOGH&RPDQGRV
Se os cardans forem curtos, pode ser acoplado um alon-
gamento (fornecido e disponível como um acessório). Into-
GX]HPVHjSUHVVmRH¿[DPVHFRPDWDPSDLQFRUSRUDGD
2HQFDVWUHGRIRUQRGHYHVHUUHDOL]DGRFRPRpLQGLFDGR
QRPDQXDOGHLQVWUXo}HVEHPFRPRDVXDOLJDomRHOpF-
trica. Antes de aceder ao interior do forno, desligue-o da
corrente eléctrica.
$7(.$ ,1'8675,$/6$ QmRVH UHVSRQVDELOL]DSHOR
IXQFLRQDPHQWRLQFRUUHFWRGDSODFDVHDWUDQVIRUPDomRGH
JiVRXUHJXODomRGRVPtQLPRVGRVTXHLPDGRUHVQmRIRU
UHDOL]DGDSHOR6HUYLoRGH$VVLVWrQFLD7pFQLFDGD7(.$
8WLOL]DomRH0DQXWHQomR
Requisitos especiais antes da sua
XWLOL]DomR
$QWHV GH OLJDU D SODFD GH FR]LQKD j UHGH HOpFWULFD YH-
UL¿TXH VH D WHQVmR YROWDJHP H D IUHTXrQFLD QD UHGH
correspondem aos dados técnicos indicados na chapa
de características, a qual está situada na parte inferior da
SODFDHQDJDUDQWtDRXHQWmRQDIROKDGHGDGRVWpFQLFRV
TXHGHYHJXDUGDUMXQWRDRPDQXDO
2DSDUHOKRQmRGHYHVHUXWLOL]DGRSRUSHVVRDV
14
Bekijk gratis de handleiding van Teka TBC 32000 XFL, stel vragen en lees de antwoorden op veelvoorkomende problemen, of gebruik onze assistent om sneller informatie in de handleiding te vinden of uitleg te krijgen over specifieke functies.
Productinformatie
| Merk | Teka |
| Model | TBC 32000 XFL |
| Categorie | Fornuis |
| Taal | Nederlands |
| Grootte | 12956 MB |
Caratteristiche Prodotto
| Apparaatplaatsing | Ingebouwd |
| Soort bediening | Draaiknop |
| Kleur van het product | Zwart |
| Breedte | 300 mm |
| Diepte | 510 mm |







