Handleiding
Je bekijkt pagina 6 van 80

ES
6
Advertencias de
seguridad:
En caso de rotura
o fisura del vidrio
cerámico la encimera
deberá desconec-
tarse
inmediatamente de
la toma de corriente
para evitar la
posibilidad de sufrir
un choque eléctrico.
Este aparato no
está diseñado para
funcionar a través de
un temporizador
externo (no
incorporado al
propio aparato), o un
sistema de control
remoto.
No se debe utilizar
un limpiador de
vapor sobre este
aparato.
El aparato y sus
partes accesibles
pueden calentarse
durante su
funcionamiento.
Evite tocar los
elementos
calefactores. Los
niños menores de 8
años deben
mantenerse alejados
de la encimera, a
menos que se
encuentren bajo
supervisión
permanente.
Este aparato
puede ser utilizado
por niños con ocho
o más años de edad,
personas con
reducidas
capacidades físicas,
sensoriales o
mentales, o falta de
experiencia y
conocimientos,
SÓLO bajo
supervisión, o si se
les ha dado la ins-
trucción apropiada
acerca del uso del
aparato y com-
prenden los peligros
que su uso implica.
La limpieza y
mantenimiento a
cargo del usuario no
han de ser reali-
zadas por niños sin
supervisión.
Los niños no
deben jugar con el
aparato.
Precaución. Es
peligroso cocinar
con grasas o aceites
sin estar presente,
ya que pueden
producir fuego.
¡Nunca trate de
extinguir un fuego
conagua! en ese
caso desconecte el
aparato y cubra las
llamas con una tapa,
un plato o una manta.
No almacene
ningún objeto sobre
las zonas de cocción
de la encimera. Evite
posibles riesgos de
incendio.
“Si el cable de
alimentación
principal está
dañado, debe ser
reemplazado por el
fabricante o su
servicio de
reparación.”
PRECAUCIÓN:
use solo protectores
apropiadamente
diseñados para la
placa de cocción por
el fabricante original
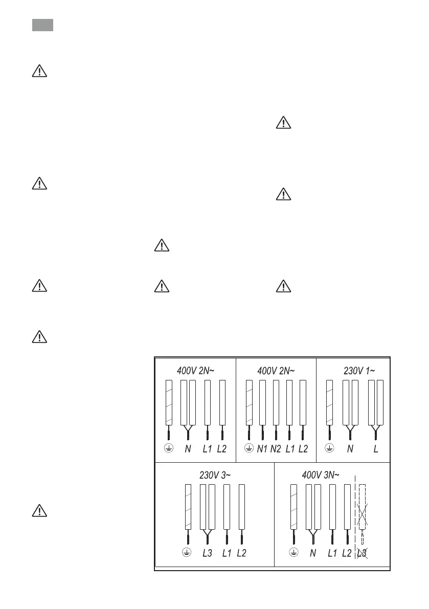
verde-amarillo
azul
marrón
gris
negro
verde-amarillo
azul
marrón
gris
negro
verde-amarillo
azul
marrón
gris
negro
verde-amarillo
azul
marrón
gris
negro
verde-amarillo
azul
marrón
gris
negro
NO USAR L3
fig. 1
Bekijk gratis de handleiding van Teka TB PRO 6415, stel vragen en lees de antwoorden op veelvoorkomende problemen, of gebruik onze assistent om sneller informatie in de handleiding te vinden of uitleg te krijgen over specifieke functies.
Productinformatie
| Merk | Teka |
| Model | TB PRO 6415 |
| Categorie | Fornuis |
| Taal | Nederlands |
| Grootte | 13804 MB |







