Handleiding
Je bekijkt pagina 54 van 80

SK
54
Bezpečnostná
upozornenie:
V prípade
poškodenia alebo
prasknutia
sklokeramiky,
sporák okamžite
odpojte od
elektrického prúdu,
hrozí
nebezpečenstvo
úrazu elektrickým
prúdom.
Spotrebič nie je
určený pre prácu s
externým časovým
spínačom (nie je
súčasťou prístroja)
alebo samostatným
diaľkovým
ovládačom.
Spotrebič
nečistite parou.
Spotrebič a jeho
dostupné časti sa pri
prevádzke môžu
ohriať. Vyvarujte sa
dotyku týchto
horúcich častí. Deti
mladšie ako 8 rokov,
ak nie sú pod
neustálou kontrolou,
by sa nemali k
sporáku približovať.
Deti 8 ročné a
staršie, osoby s
fyzickou, psychickou
alebo mentálnou
poruchou, a osoby
neskúsených môžu
používať tento
spotrebič len po
podaní dostatočných
informácií o jeho
prevádzke a o
prípadnom
nebezpečenstve pri
jeho používaní.
Čistenie a údržbu
nesmú vykonávať
deti bez dozoru.
Deti si nesmú so
spotrebičom hrať.
Pozor: Je
nebezpečnévařit s
tukemneboolejem
bez dozoruosoby,
možnosť vzniku
požiaru. Nikdy sa
nepokúšajte uhasiť
požiar vodou. V
takejto situácii
odpojte spotrebič od
elektrického prúdu a
požiar uduste
pokrievkou,
tanierom alebo
dekou.
Neodkladajte
rôzne veci na plochu
sporáku. Vyvarujete
sa tak možnému
požiaru.
Ak bol poškodený
hlavný vstupný
kábel spotrebiča,
musí byť vymenený
iba výrobcom alebo
autorizovanou
servisnou jednotkou.
POZOR:
Používajte iba
vhodné chrániče
varnej dosky
vyrobené pre
domáce potreby
alebo originálne
chrániče varnej
dosky tohto
spotrebiča.
Používanie
nevhodných
chráničov môže
spôsobiť nehodu.
Inštalácia
Umiestnenie sa zásuvkou na
príbory
Pokiaľ bude pod sporákom umiestnený
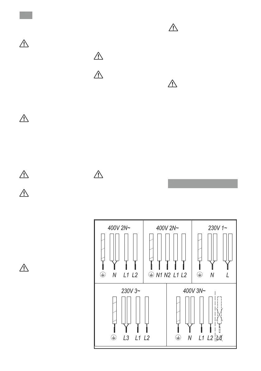
zeleno-žltý
modrý
hnedý
sivý
čierny
zeleno-žltý
modrý
hnedý
sivý
čierny
zeleno-žltý
modrý
hnedý
sivý
čierny
zeleno-žltý
modrý
hnedý
sivý
čierny
zeleno-žltý
modrý
hnedý
sivý
čierny
L3 NEPOŽÍVAJTE
obr. 1
Bekijk gratis de handleiding van Teka TB PRO 6415, stel vragen en lees de antwoorden op veelvoorkomende problemen, of gebruik onze assistent om sneller informatie in de handleiding te vinden of uitleg te krijgen over specifieke functies.
Productinformatie
| Merk | Teka |
| Model | TB PRO 6415 |
| Categorie | Fornuis |
| Taal | Nederlands |
| Grootte | 13804 MB |







