Handleiding
Je bekijkt pagina 24 van 80

DE
24
Sicherheitshinweise:
Falls das keramische
Glas zerbricht, ziehen Sie
sofort den Stecker des
Ofens heraus um von
dem elektrischen Schlag
zu vermeiden.
Dieses Gerät ist nicht
entwickelt, dafür es mit
einem externen Timer
(nicht im Gerät monert)
oder einem separaten
Fernbedienungssystem
zu arbeiten.
Reinigen Sie nicht das
Gerät mit Wasserdampf.
Das Gerät und die
erreichbaren Geräteteile
können erhitzen.
Vermeiden Sie die
erhitzte Geräteteil zu
berühren. Die Kinder, die
jünger als 8 Jahre alt sind,
sollen von dem Ofen
fernbleiben, falls sie nicht
ständig beaufsichtigt
werden.
Das Gerät nur von der
Kinder, die alter als 8
Jahre sind, und der
Personen, die
physikalischen
,sensorischen oder
mentalen
Fähigkeitsstörungen
oder unzureichenden
Kenntnisse und
Erfahrungen haben
gebraucht wird, falls sie
nur beaufsichtigt oder
über Gebrauch des
Geräts und die
bestehenden Gefahren
des Gebrauchs
ausreichend informiert
werden. Reinigung und
Pegen können von der
Kinder, die nicht
beaufsichtigt werden,
nicht gemacht werden.
Die Kinder sollen
nicht mit dem Gerät
spielen.
Achtung: Es ist
gefährlich ohne Öl zu
kochen; weil das Gerät
brennbar ist. Versuchen
Sie überhaupt nicht das
Feuer mit Wasser zu
löschen. In diesem Fall
schalten Sie den Ofen ab
und bedecken die
Flammen mit Deckel,
Teller oder Bedecke.
Setzen Sie keine
Sache auf die Kochstelle
des Ofens auf. Vermeiden
Sie von dem Gefähr des
möglichen Feuers.
“Falls das primäre
elektrische Kabel
beschädigt wird, soll das
Kabel von dem Hersteller
oder Kundendienst
getauscht werden.”
ACHTUNG:
Verwenden Sie die
Beschützer der
Kochfelder, die von
Hausgerätehersteller
geeignet entwickelt
werden, oder die
vorhandenen Beschützer.
Montage
Stellung mit Schublade für Gabel-
Messer-Löel
Wenn Sie ein Möbel oder Schublade
unter dem Ofen montieren mögen,
sollen Sie eine Trennungsplatte
zwischen beiden stellen. Somit wird
das unbeabsichtigte Berühren mit
heißen Oberächen des Gehäuses
verhindert.
Diese Platte soll 20 mm unter der
unteren Ofentür gestellt werden.
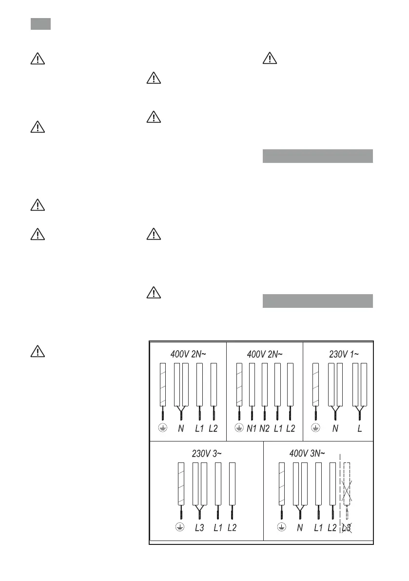
Stromanschluss
Bevor Sie den Ofen in elektrisches
Netzwerk einstecken, kontrollieren Sie
grün-
Abb. 1
gelb
blau
braun
grau
schwarz
grün-gelb
blau
braun
grau
schwarz
grün-gelb
blau
braun
grau
schwarz
grün-gelb
blau
braun
grau
schwarz
grün-gelb
blau
braun
grau
schwarz
L3 NICHT VERWENDEN
Bekijk gratis de handleiding van Teka TB PRO 6415, stel vragen en lees de antwoorden op veelvoorkomende problemen, of gebruik onze assistent om sneller informatie in de handleiding te vinden of uitleg te krijgen over specifieke functies.
Productinformatie
| Merk | Teka |
| Model | TB PRO 6415 |
| Categorie | Fornuis |
| Taal | Nederlands |
| Grootte | 13804 MB |







