Handleiding
Je bekijkt pagina 61 van 84

RO
61
Avertismente de
VLJXUDQ܊ă
ÌQFD]XOvQFDUH
sticla se sparge
FHUDPLFHVDX¿VXUL
GHFRQHFWD܊LLPHGLDW
plita pentru a evita
܈RFXULOHHOHFWULFH
Acest aparat nu
este proiectat
pentru a lucra cu un
temporizator (Nu
HVWHFRQVWUXLWvQ
aparat) extern sau a
unui sistem de
FRQWUROODGLVWDQ܊ă
separate.
1XFXUă܊D܊LFX
abur acest aparat.
'LVSR]LWLYXO܈L
componentele sale
accesibile, se poate
vQFăO]L vQ WLPSXO
IXQF܊LRQăULL(YLWD܊L
Vă DWLQJH܊L
elementele de
vQFăO]LUH&RSLLLPDL
PLFLGHDQLWUHEXLH
VăVWHDGHSDUWHGH
SOLWDFXH[FHS܊LD
FD]XOXLvQFDUHVXQW
VXSUDYHJKHDWHvQ
SHUPDQHQ܊ă
Acest dispozitiv
poate fi exclusiv
XWLOL]DW GH FăWUH
FRSLLFXYkUVWDGH
DQL VDX PDL vQ
YkUVWăSHUVRDQHOH
FXDELOLWă܊LIL]LFH
senzoriale sau
mentale, sau cei
care sunt lipsa de
H[SHULHQ܊ă ܈L
FXQR܈WLQ܊HQXPDL
atunci când
supravegheat sau
vQ FD]XO vQ FDUH
acestea au fost
LQVWUXF܊LXQL
adecvate privind
utilizarea celor
GLVSR]LWLY ܈L Vă
vQ܊HOHDJăSHULFROHOH
XWLOL]ăULLDFHVWXLD
LPSOLFăFXUă܊DUH
XWLOL]DWRU ܈L
vQWUH܊LQHUHQXSRDWH
ILIăFXWăGHFăWUH
copii
QHVXSUDYHJKHD܊L
Copiii nu trebuie
Vă VH MRDFH FX
dispozitivul.
0ăVXUă GH
SUHFDX܊LH (VWH
periculos pentru a
JăWLFXJUăVLPHVDX
XOHLIăUăD¿SUH]HQW
deoarece acestea
pot lua foc. Nu
vQFHUFD܊LQLFLRGDWă
VăVWLQJăLQFHQGLXO
FXDSăvQDFHVW
FD]GHFRQHFWD܊L
GLVSR]LWLYXO܈LVH
DFRSHUăÀăFăULOHFX
XQFDSDFRSODFă
VDXRSăWXUă
Nu pune nici un
obiect pe
VXSUDIH܊HOHGHJăWLW
ale hob.Prevent un
posibil pericol de
incendiu.
³ÌQFD]XOvQFDUH
cablul de alimentare
este deteriorat,
WUHEXLHvQORFXLWGH
FăWUHSURGXFăWRU
VDX VD GXSă
serviciul de
YkQ]ăUL´
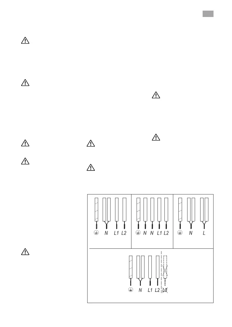
9
1/a
9
1/a
9
1/a
9
1/a
YHUGHJăOEXL
DOEDVWUX
PDUR
JUL
QHJUX
YHUGHJăOEXL
DOEDVWUX
PDUR
JUL
QHJUX
YHUGHJăOEXL
DOEDVWUX
PDUR
JUL
QHJUX
YHUGHJăOEXL
DOEDVWUX
PDUR
JUL
QHJUX
18)2/26,ğ,/
¿J
Bekijk gratis de handleiding van Teka TB 6310, stel vragen en lees de antwoorden op veelvoorkomende problemen, of gebruik onze assistent om sneller informatie in de handleiding te vinden of uitleg te krijgen over specifieke functies.
Productinformatie
| Merk | Teka |
| Model | TB 6310 |
| Categorie | Fornuis |
| Taal | Nederlands |
| Grootte | 14030 MB |







