Handleiding
Je bekijkt pagina 55 van 84

SK
55
%H]SHþQRVWQi
upozornenie:
V prípade
poškodenia alebo
prasknutia
sklokeramiky,
VSRUiNRNDPåLWH
odpojte od
elektrického prúdu,
hrozí
QHEH]SHþHQVWYR
úrazu elektrickým
prúdom.
6SRWUHELþQLHMH
XUþHQêSUHSUiFXV
H[WHUQêPþDVRYêP
VStQDþRPQLHMH
V~þDVĢRXSUtVWURMD
alebo samostatným
GLDĐNRYêP
RYOiGDþRP
6SRWUHELþ
QHþLVWLWHSDURX
6SRWUHELþDMHKR
GRVWXSQpþDVWLVD
SULSUHYiG]NHP{åX
RKULDĢ9\YDUXMWHVD
dotyku týchto
KRU~FLFKþDVWt'HWL
PODGãLH DNR
rokov, ak nie sú
SRG QHXVWiORX
kontrolou, by sa
QHPDOLNVSRUiNX
SULEOLåRYDĢ
'HWLURþQpD
staršie, osoby s
fyzickou,
psychickou alebo
PHQWiOQRX
poruchou, a osoby
QHVN~VHQêFKP{åX
SRXåtYDĢ WHQWR
VSRWUHELþOHQSR
podaní
GRVWDWRþQêFK
LQIRUPiFLtRMHKR
SUHYiG]NH D R
prípadnom
QHEH]SHþHQVWYH
SULMHKRSRXåtYDQt
ýLVWHQLHD~GUåEX
QHVP~Y\NRQiYDĢ
deti bez dozoru.
Deti si nesmú so
VSRWUHELþRPKUDĢ
Pozor: Je
QHEH]SHþQpYDĜLWV
tukemneboolejem
bez dozoruosoby,
PRåQRVĢ Y]QLNX
SRåLDUX1LNG\VD
QHSRN~ãDMWHXKDVLĢ
SRåLDU YRGRX 9
WDNHMWR VLWXiFLL
RGSRMWHVSRWUHELþ
od elektrického
SU~GX D SRåLDU
uduste pokrievkou,
tanierom alebo
dekou.
Neodkladajte
rôzne veci na
SORFKXVSRUiNX
Vyvarujete sa tak
PRåQpPXSRåLDUX
Ak bol
poškodený hlavný
YVWXSQê NiEHO
VSRWUHELþDPXVt
E\ĢY\PHQHQêLED
výrobcom alebo
autorizovanou
servisnou
jednotkou.
POZOR:
3RXåtYDMWH LED
YKRGQpFKUiQLþH
varnej dosky
vyrobené pre
GRPiFH SRWUHE\
DOHERRULJLQiOQH
FKUiQLþH YDUQHM
dosky tohto
VSRWUHELþD
3RXåtYDQLH
nevhodných
FKUiQLþRY P{åH
VS{VRELĢQHKRGX.
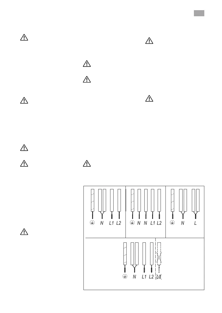
9
1/a
9
1/a
9
1/a
9
1/a
]HOHQRåOWê
PRGUê
KQHGê
VLYê
þLHUQ\
]HOHQRåOWê
PRGUê
KQHGê
VLYê
þLHUQ\
]HOHQRåOWê
PRGUê
KQHGê
VLYê
þLHUQ\
]HOHQRåOWê
PRGUê
KQHGê
VLYê
þLHUQ\
/1(32äË9$-7(
REU
Bekijk gratis de handleiding van Teka TB 6310, stel vragen en lees de antwoorden op veelvoorkomende problemen, of gebruik onze assistent om sneller informatie in de handleiding te vinden of uitleg te krijgen over specifieke functies.
Productinformatie
| Merk | Teka |
| Model | TB 6310 |
| Categorie | Fornuis |
| Taal | Nederlands |
| Grootte | 14030 MB |







