Handleiding
Je bekijkt pagina 49 van 84

CS
49
%H]SHþQRVWQt
XSR]RUQČQt
9 SĜtSDGČ
poškození nebo
prasknutí
sklokeramiky,
VSRUiN RNDPåLWČ
odpojte od
elektrického
proudu, hrozí
QHEH]SHþt ~UD]X
elektrickým
proudem.
6SRWĜHELþQHQt
XUþHQSURSUiFLV
H[WHUQtPþDVRYêP
VStQDþHP QHQt
VRXþiVWtSĜtVWURMH
nebo samostatným
GiONRYêP
RYOiGDþHP
6SRWĜHELþ
QHþLVWČWHSiURX
6SRWĜHELþDMHKR
GRVWXSQpþiVWL VH
SĜLSURYR]XPRKRX
RKĜiW9\YDUXMWHVH
GRW\NX WČFKWR
KRUNêFKþiVWt'ČWL
PODGãtOHWSRNXG
nejsou pod
QHXVWiORX
kontrolou, by se
QHPČOLNH VSRUiNX
SĜLEOLåRYDW
'ČWLOHWpDVWDUãt
osoby s fyzickou,
psychickou nebo
PHQWiOQtSRUXFKRX
a osoby nezkušené
PRKRX SRXåtYDW
WHQWR VSRWĜHELþ
SRX]HSR SRGiQt
GRVWDWHþQêFK
informací o jeho
provozu a o
SĜtSDGQpP
QHEH]SHþtSĜL MHKR
SRXåtYiQtýLãWČQtD
~GUåEX QHVPt
SURYiGČWGČWL EH]
dozoru.
'ČWLVLQHVPtVH
VSRWĜHELþHPKUiW
Pozor: Je
QHEH]SHþQpYDĜLWV
tukemneboolejem
bez dozoruosoby,
PRåQRVW Y]QLNX
SRåiUX1LNG\ VH
nepokoušejte
XKDVLWSRåiUYRGRX
V takové situaci
RGSRMWHVSRWĜHELþ
od elektrického
SURXGX D SRåiU
uduste poklicí,
WDOtĜHPQHERGHNRX
1HRGNOiGHMWH
UĤ]Qp YČFL QD
SORFKX VSRUiNX
Vyvarujete se tak
PRåQpPXSRåiUX
Pokud byl
poškozen hlavní
SĜtYRGRYê NDEHO
VSRWĜHELþHPXVt
EêWY\PČQČQSRX]H
výrobcem nebo
autorizovanou
servisní jednotkou.
POZOR:
3RXåtYHMWHSRX]H
YKRGQpFKUiQLþH
varné desky
vyrobené pro
GRPiFt SRWĜHE\
QHER RULJLQiOQt
FKUiQLþH YDUQp
desky tohoto
VSRWĜHELþH
3RXåtYiQt
nevhodných
FKUiQLþĤ PĤåH
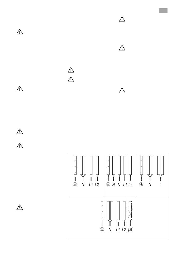
9
1/a
9
1/a
9
1/a
9
1/a
REU
]HOHQRåOXWi
PRGUi
NDãWDQRYi
ãHGi
þHUQi
]HOHQRåOXWi
PRGUi
NDãWDQRYi
ãHGi
þHUQi
]HOHQRåOXWi
PRGUi
NDãWDQRYi
ãHGi
þHUQi
]HOHQRåOXWi
PRGUi
NDãWDQRYi
ãHGi
þHUQi
1(328äË9$7/
Bekijk gratis de handleiding van Teka TB 6310, stel vragen en lees de antwoorden op veelvoorkomende problemen, of gebruik onze assistent om sneller informatie in de handleiding te vinden of uitleg te krijgen over specifieke functies.
Productinformatie
| Merk | Teka |
| Model | TB 6310 |
| Categorie | Fornuis |
| Taal | Nederlands |
| Grootte | 14030 MB |







