Teka RSL 41150 BU handleiding
Handleiding
Je bekijkt pagina 11 van 361

EN
10
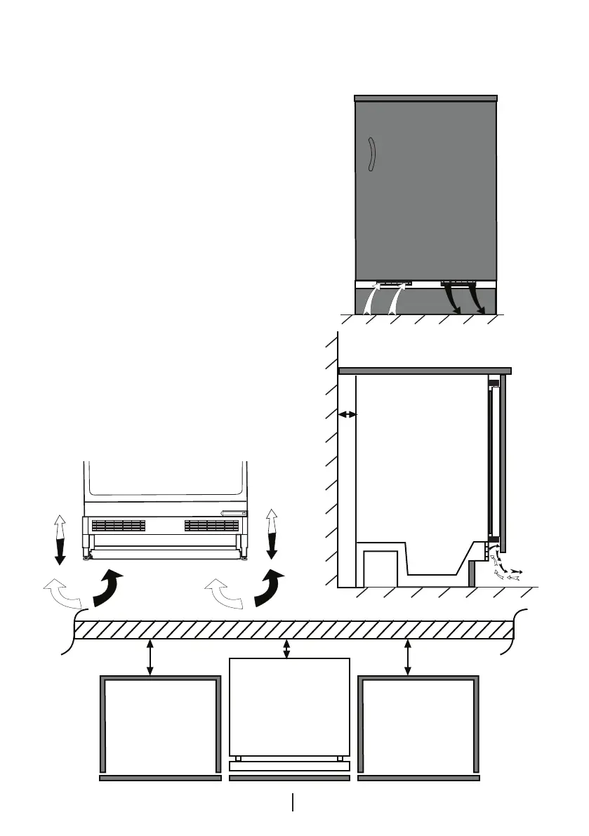
Placing the refrigerator
under the counter and
adjusting the legs
When you place your refrigerator, the
distance between the product and the
wall must be at least 30 mm, as seen
in the figure.
The air ventilation channels must not
be blocked so that the performance
of your refrigerator does not decrease.
(140 cm2)
If your refrigerator is unstable;
You may turn the front legs of your
refrigerator as seen in the figure to
balance it. The corner of the leg lowers
when the leg is turned in the direction
of the black arrow; it rises when the leg
is turned in the opposite direction. It will
be easier for you when you get some
help from someone to lift the unit a little
during this process.
30mm
40mm 40mm
30mm
Bekijk gratis de handleiding van Teka RSL 41150 BU, stel vragen en lees de antwoorden op veelvoorkomende problemen, of gebruik onze assistent om sneller informatie in de handleiding te vinden of uitleg te krijgen over specifieke functies.
Productinformatie
| Merk | Teka |
| Model | RSL 41150 BU |
| Categorie | Niet gecategoriseerd |
| Taal | Nederlands |
| Grootte | 33243 MB |
Caratteristiche Prodotto
| Apparaatplaatsing | Ingebouwd |
| Kleur van het product | Wit |
| Deurscharnieren | Rechts |
| Ingebouwd display | Nee |
| Gewicht | 30000 g |







