Teka EWH 100 DHH handleiding
Handleiding
Je bekijkt pagina 40 van 50

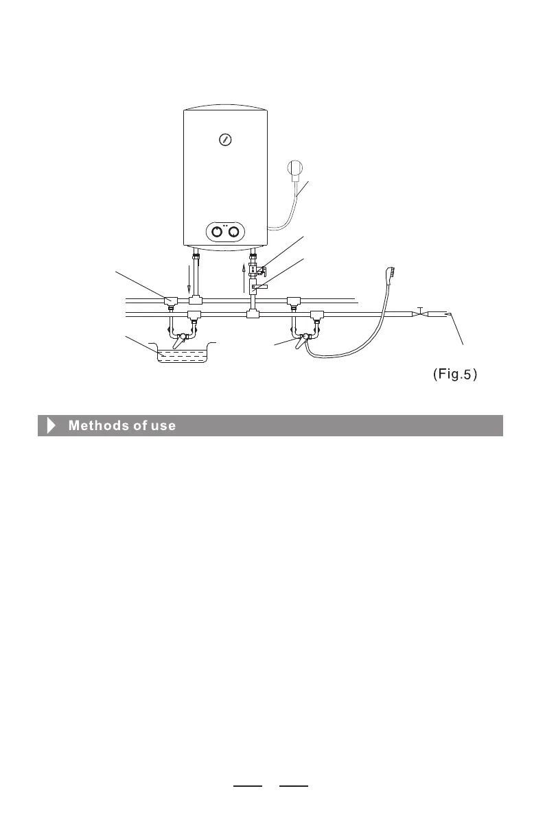
4. If the users want to make a multi-way supply system, refer to the method
shown in Fig.5 for connection of the pipelines.
1.
2.
3.
First, open any of the outlet valves at the outlet of the water heater, then,
open the inlet valve. The electric water heater begins to be filled with
water. When there is water coming out of the outlet valve normally, it
implies that the heater has been fully filled with water, and the outlet valve
can be closed.
Note: During normal operation, the inlet valve shall be set in the status
of “open”.
Insert the supply plug into the socket, the two indicator lights will be on at
the same time..
This machine can automatically control the temperature. When the water
temperature inside the machine has reached the set temperature (It is set
to 75℃), it will be turned off automatically, and step into the status of
thermal insulation; when the water temperature is decreased to a certain
point, it will be turned on automatically to restore the heating, and the use
of hot water will not be interrupted. When the heater is switched off auto-
matically, the heating indicator will turn off.
5
Pressure relief valve
Water inlet valve
Water inlet valve
Running water pipeMixing valve
Water pool
Triple joint
Shower nozzle
Hot
water
outlet
Cold
water
inlet
Power cord
Bekijk gratis de handleiding van Teka EWH 100 DHH, stel vragen en lees de antwoorden op veelvoorkomende problemen, of gebruik onze assistent om sneller informatie in de handleiding te vinden of uitleg te krijgen over specifieke functies.
Productinformatie
| Merk | Teka |
| Model | EWH 100 DHH |
| Categorie | Niet gecategoriseerd |
| Taal | Nederlands |
| Grootte | 5631 MB |







