Handleiding
Je bekijkt pagina 72 van 130

72
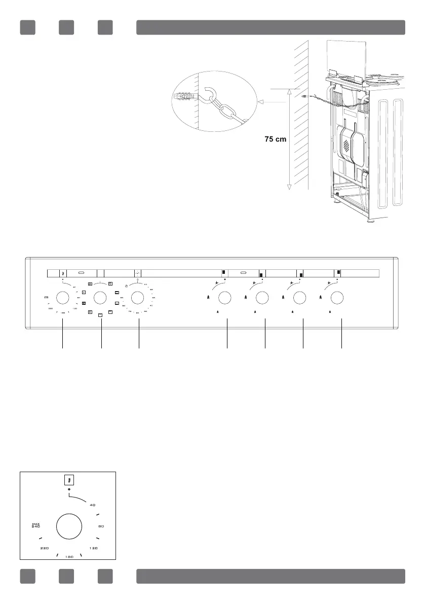
Ilustración De Amarre De Cadena
Antes de usar el artefacto, y a n de lograr
un uso seguro, no olvide sujetar el artefacto
al muro utilizando la cadena y el tornillo en
gancho provisto. Verique que el gancho esté
atornillado en el muro rmemente.
PANEL DE MANDOS
ADVERTENCIA: El panel de mandos de arriba es solo para nes ilustrati-
vos. Considere el panel de mandos en su dispositivo.
0
1 2 3 4 5 6 7
1. Termostato
2. Botón de selección de funciones
3. Temporizador mecánico
4. Calentador trasero derecho
5. Calentador delantero izquierdo
6. Calentador delantero derecho
7. Calentador trasero derecho
Termostato: Se usa para determinar la temperatura
de cocción del plato a cocinar en el horno. Después
de colocar la comida dentro del horno, gire el
interruptor para ajustar la temperatura deseada entre
40-240 °C. Para las temperaturas de cocción de
diferentes alimentos, vea la tabla de cocción.
ES
Bekijk gratis de handleiding van Svan SKG4601, stel vragen en lees de antwoorden op veelvoorkomende problemen, of gebruik onze assistent om sneller informatie in de handleiding te vinden of uitleg te krijgen over specifieke functies.
Productinformatie
| Merk | Svan |
| Model | SKG4601 |
| Categorie | Fornuis |
| Taal | Nederlands |
| Grootte | 10845 MB |







