Handleiding
Je bekijkt pagina 11 van 32

11
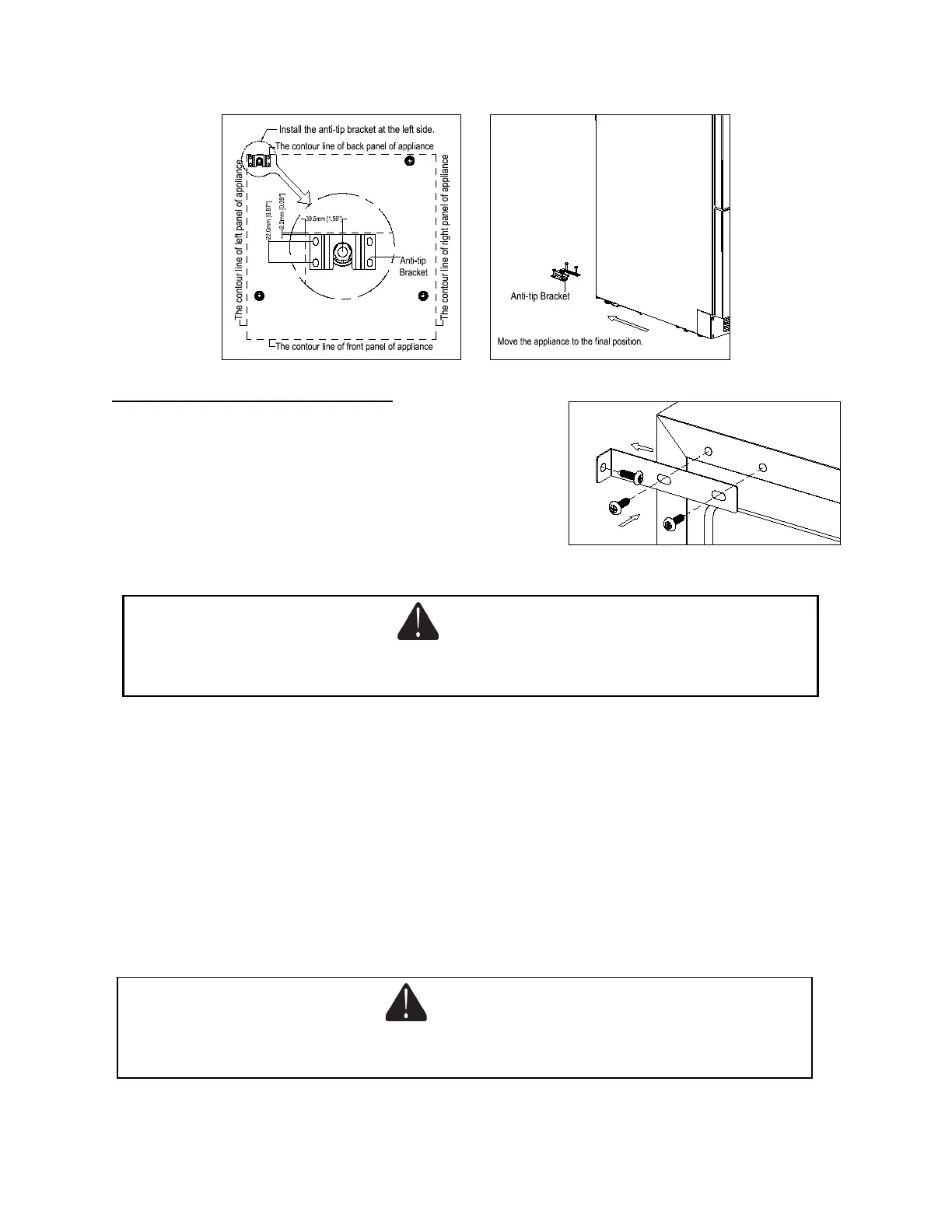
Securing the Appliance (If available)
Pop out the cover cap on the opposite side of hinge and
secure the appliance in the niche by tightening the screws
through the attachment bracket if the unit is provided with
an attachment bracket.
Connecting to the Water Supply
Prepare water supply line before installation for models with ice maker. Installation requires a 1/4" ID
copper cold water line and compression fitting (not supplied).
All the necessary hardware is not provided so it is necessary to hire a professional licensed plumber to
complete the installation.
Connect the water line to the nearest cold water source. Leave sufficient coiled copper tubing to the unit
to allow the unit to be pulled out of the cabinet or away from the wall for cleaning and service. Also make
sure that the tubing is not pinched or damaged during the transportation.
WARNING: Connect to potable water supply only.
IMPORTANT NOTE: Water lines cannot be exposed to freezing temperatures.
Electrical Connection
This appliance should be properly grounded for your safety. The power cord of this appliance is
WARNING
Improper use of the grounded plug can result in the risk of electrical shock. If the power cord
is damaged, have it replaced by a qualified electrician or an authorized service center.
WARNING
Improper water line connection may result in flooding. You must use a licensed plumber. Review
state and local plumbing codes before installation.
Bekijk gratis de handleiding van Summit SDHR1534LHD, stel vragen en lees de antwoorden op veelvoorkomende problemen, of gebruik onze assistent om sneller informatie in de handleiding te vinden of uitleg te krijgen over specifieke functies.
Productinformatie
Merk | Summit |
Model | SDHR1534LHD |
Categorie | Koelkast |
Taal | Nederlands |
Grootte | 3296 MB |