Handleiding
Je bekijkt pagina 10 van 52

10
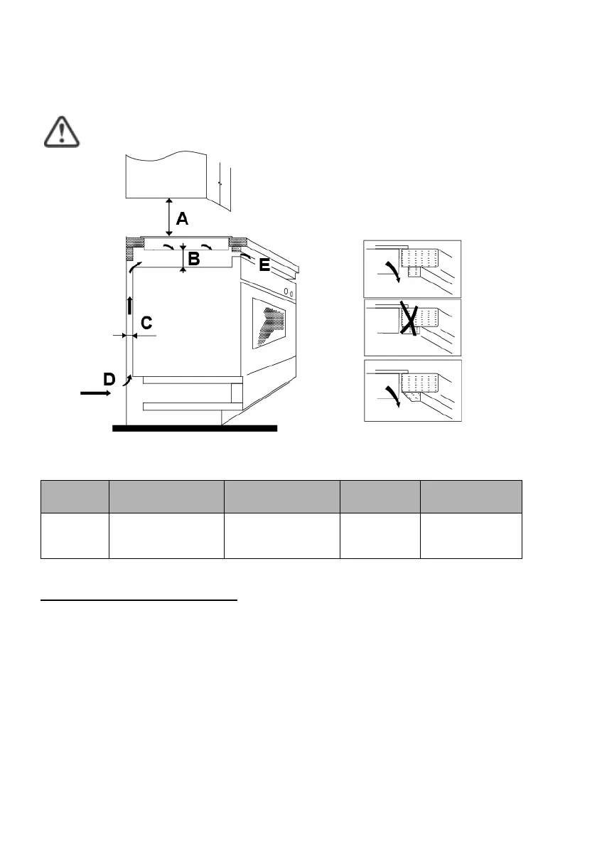
Make sure the electric cooktop is well ventilated and the air inlet and outlet are
not blocked. Ensure the electric cooktop is in good work state. As shown below:
Note: The safety distance between the hotplate and the cupboard
above the hotplate should be at least 760mm (30”).
A
B
C
D
E
760mm/
30”
50mm minimal/
2”
20mm minimal/
.78”
Air
intake
Air
exit
5mm/
.2”
Installing the Foam Gasket
Before inserting the cooktop into the kitchen cutout, the supplied foam gasket
(in a plastic bag) must be attached to the lower side of the ceramic glass.
CAUTION: DO NOT install the cooktop without the foam gasket.
To install the foam gasket, follow these steps:
1. Remove the protective film from the gasket.
2. Attach the gasket to the lower side of the glass, next to the edge.
Bekijk gratis de handleiding van Summit CR5B30T8W, stel vragen en lees de antwoorden op veelvoorkomende problemen, of gebruik onze assistent om sneller informatie in de handleiding te vinden of uitleg te krijgen over specifieke functies.
Productinformatie
| Merk | Summit |
| Model | CR5B30T8W |
| Categorie | Fornuis |
| Taal | Nederlands |
| Grootte | 4177 MB |







