Steinberg SBS-RT-3000N handleiding
Handleiding
Je bekijkt pagina 9 van 76

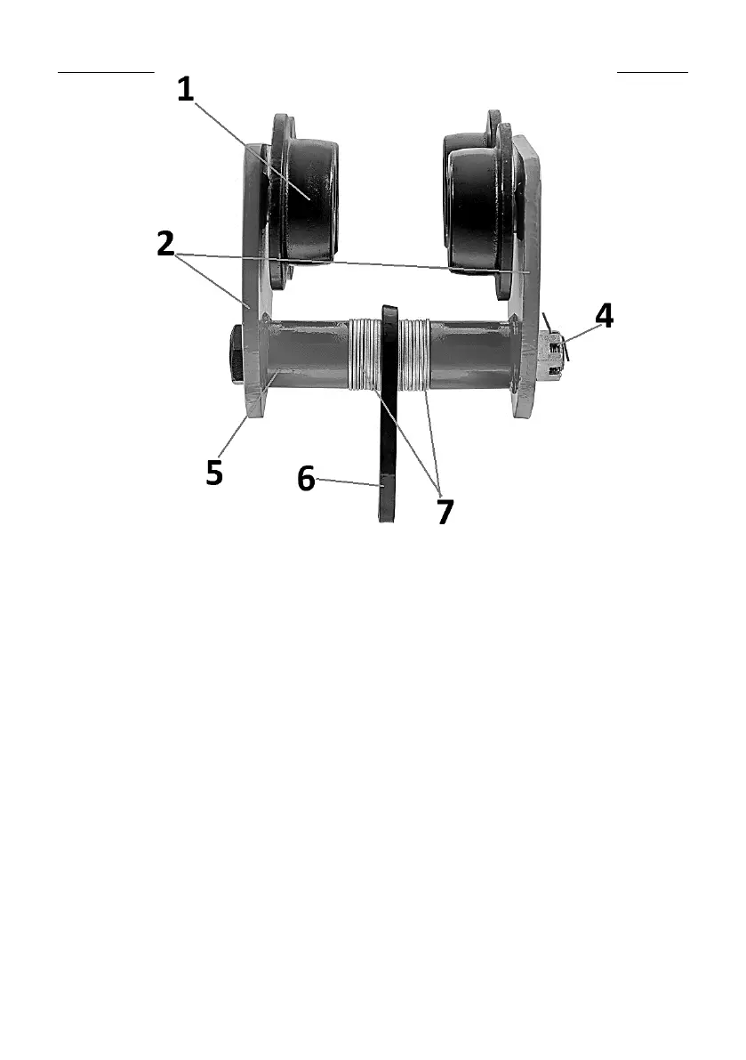
1. Vorschubrad
2. Seitenwände
3. Kettenspule
4. Spitzenmutter mit Sicherheitsclip
5. Achse
6. Schlingen
7. Distanzscheibe
8. Antriebskette
3.2. Vorbereitung auf die Arbeit/Arbeiten mit dem
Gerät
AUFSTELLUNG DES GERÄTS:
ACHTUNG! Es muss sichergestellt werden, dass die tragende Struktur, auf der sich
das Gerät bewegt, stark genug ist, um das Gewicht der Last
und des Geräts zu tragen. Die Montage des Geräts an einer Konstruktion, deren
Tragfähigkeit und Festigkeit nicht überprüft werden können, ist untersagt.
Verantwortung
für die Befestigung des Geräts an der Tragstruktur und für die Tragstruktur selbst
fällt dem Benutzer zu. Bei der Aufhängung des Geräts an der Tragkonstruktion ist es
erforderlich
Bekijk gratis de handleiding van Steinberg SBS-RT-3000N, stel vragen en lees de antwoorden op veelvoorkomende problemen, of gebruik onze assistent om sneller informatie in de handleiding te vinden of uitleg te krijgen over specifieke functies.
Productinformatie
| Merk | Steinberg |
| Model | SBS-RT-3000N |
| Categorie | Niet gecategoriseerd |
| Taal | Nederlands |
| Grootte | 11295 MB |







