Steinberg SBS-RT-3000C handleiding
Handleiding
Je bekijkt pagina 34 van 76

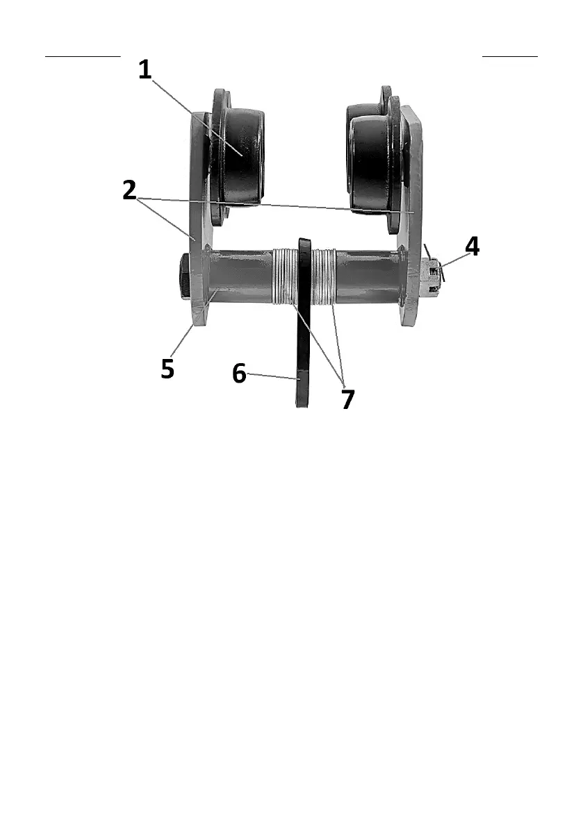
1. Podávací kolečko
2. Boční stěny
3. Cívka řetězu
4. Šněrovací matice s bezpečnostní sponou
5. Osa
6. Smyčky
7. Distanční podložka
8. Řetěz pohonu
3.2. Příprava na práci/Práce se zařízením
UMÍSTĚNÍ ZAŘÍZENÍ
UPOZORNĚNÍ! Zkontrolujte, zda je nosná konstrukce, níž se zařízení bude
pohybovat, dostatečně pevná, aby vydržela zátěž nákladu
a zařízení. Je zakázání zařízení montovat na konstrukci, kterou nelze zkontrolovat z
hlediska její nosnosti a pevnosti. Odpovědnost
pro upevnění zařízení na nosnou konstrukci a pro samotnou nosnou konstrukci
připadá na uživatele. Při zavěšování zařízení na nosnou konstrukci je nutné.
dbát zvýšené opatrnosti a zajistit, aby všechny podmínky byly vhodné pro
bezpečnou práci - to vám umožní vyhnout se rizikům spojeným s možnými riziky.
zranění osob.
Bekijk gratis de handleiding van Steinberg SBS-RT-3000C, stel vragen en lees de antwoorden op veelvoorkomende problemen, of gebruik onze assistent om sneller informatie in de handleiding te vinden of uitleg te krijgen over specifieke functies.
Productinformatie
Merk | Steinberg |
Model | SBS-RT-3000C |
Categorie | Niet gecategoriseerd |
Taal | Nederlands |
Grootte | 11295 MB |