Steinberg SBS-RT-1000N handleiding
Handleiding
Je bekijkt pagina 8 van 76

trotz der zusätzlichen Sicherheitsvorkehrungen für den Benutzer ein
geringes Unfall- oder Verletzungsrisiko bei der Handhabun
g des
Produkts. Es wird empfohlen, bei der Verwendung Vorsicht und
gesunden Menschenverstand walten zu lassen.
3. Bestimmungsgemäßer Gebrauch
Das Gerät ist für den Transport auf einer Einschienenbahn ausgelegt. Er kann als
Aufhängepunkt für Hebezeuge verwendet werden.
Für allerlei Schäden, die durch unsachgemäßen Gebrauch entstehen, haftet der
Anwender.
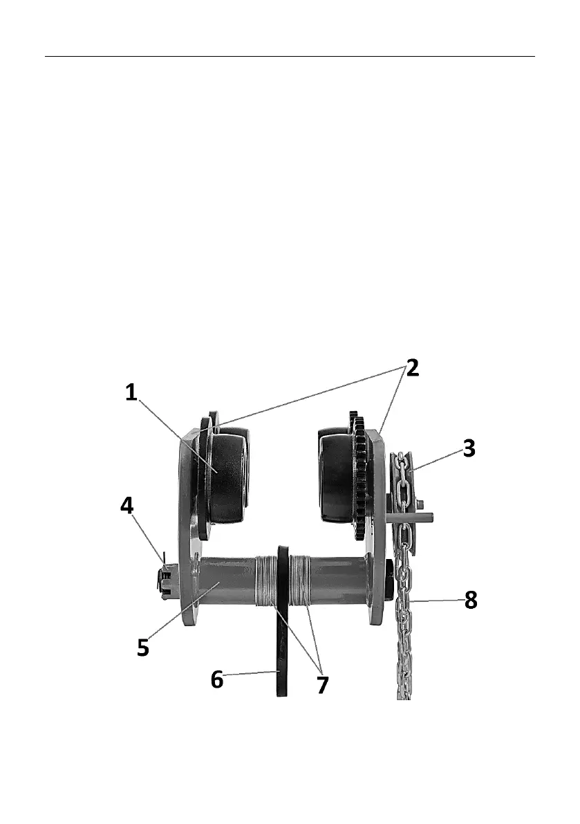
3.1. Produktübersicht
SBS-RT-5000C / SBS-RT-3000C / SBS-RT-2000C / SBS-RT-1000C
SBS-RT-5000N / SBS-RT-3000N / SBS-RT-2000N / SBS-RT-1000N
Bekijk gratis de handleiding van Steinberg SBS-RT-1000N, stel vragen en lees de antwoorden op veelvoorkomende problemen, of gebruik onze assistent om sneller informatie in de handleiding te vinden of uitleg te krijgen over specifieke functies.
Productinformatie
| Merk | Steinberg |
| Model | SBS-RT-1000N |
| Categorie | Niet gecategoriseerd |
| Taal | Nederlands |
| Grootte | 3235 MB |







