Steinberg SBS-RT-1000N handleiding
Handleiding
Je bekijkt pagina 74 van 76

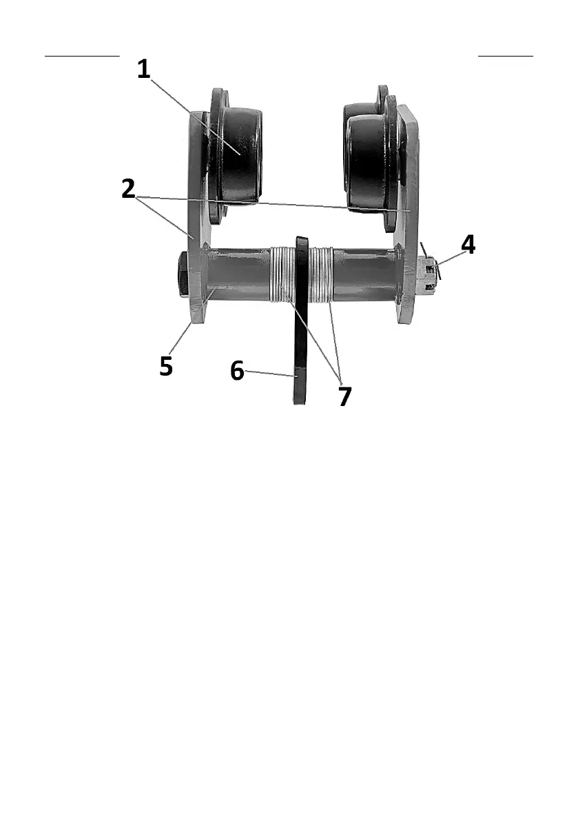
1. Indføringshjul
2. Sidevægge
3. Kædespole
4. Snøremøtrik med sikkerhedsklips
5. Aksel
6. Slynger
7. Afstandsstykke
8. Drivkæde
3.2. Forberedelse til arbejdet/arbejde med
apparatet
APPARATETS PLACERING
OBS! Sørg for, at den bærende struktur, som anordningen bevæger sig på, er stærk
nok til at kunne modstå belastningen
og anordningen. Det er forbudt at montere anordningen på en struktur, der ikke kan
verificeres med hensyn til dens bæreevne og styrke. Ansvar
til montering af anordningen på den bærende konstruktion og til selve den bærende
konstruktion påhviler brugeren. Ved ophængning af anordningen på den bærende
konstruktion er det nødvendigt
at udvise ekstrem forsigtighed og sikre, at alle forhold er egnede til sikkert arbejde
- dette vil gøre det muligt for dig at undgå de risici, der er forbundet med mulige
Bekijk gratis de handleiding van Steinberg SBS-RT-1000N, stel vragen en lees de antwoorden op veelvoorkomende problemen, of gebruik onze assistent om sneller informatie in de handleiding te vinden of uitleg te krijgen over specifieke functies.
Productinformatie
| Merk | Steinberg |
| Model | SBS-RT-1000N |
| Categorie | Niet gecategoriseerd |
| Taal | Nederlands |
| Grootte | 3235 MB |







