Steinberg SBS-RT-1000N handleiding
Handleiding
Je bekijkt pagina 58 van 76

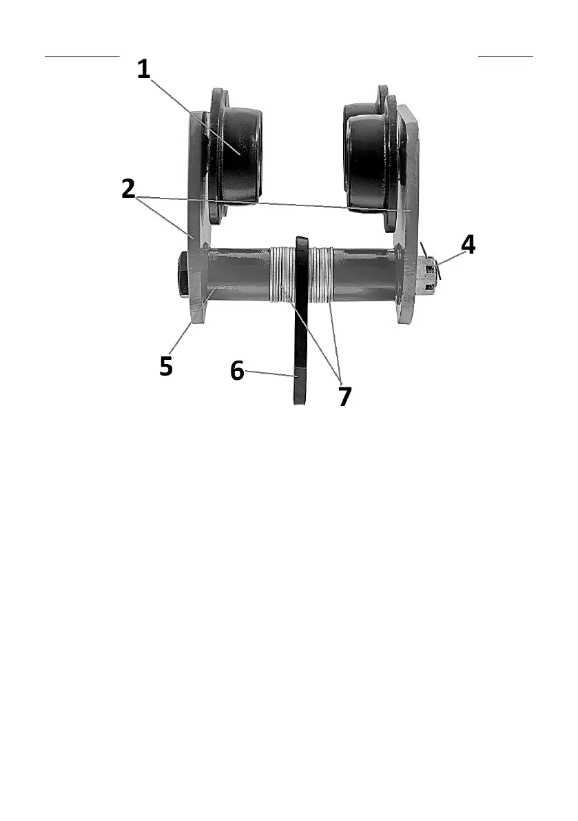
1. Rueda de avance
2. Paredes laterales
3. Bobina de cadena
4. Tuerca de encaje con clip de seguridad
5. Eje
6. Eslingas
7. Espaciador
8. Cadena de transmisión
3.2. Preparación para el trabajo/Trabajo con el
aparato
LUGAR DE USO
¡ADVERTENCIA! Asegúrese de que la estructura portadora sobre la que se moverá
el equipo es lo suficientemente fuerte como para poder soportar el peso de la carga
y el equipo. Está prohibido montar el equipo en una estructura cuya capacidad de
carga y resistencia no puede ser verificada. Responsabilidad
para montar el dispositivo en la estructura de soporte y para que la propia
estructura de soporte recaiga sobre el usuario. Al suspender el dispositivo en la
estructura de soporte, es necesario
extremar la precaución y asegurarse de que todas las condiciones son adecuadas
para un trabajo seguro, lo que le permitirá evitar los riesgos asociados a posibles
Bekijk gratis de handleiding van Steinberg SBS-RT-1000N, stel vragen en lees de antwoorden op veelvoorkomende problemen, of gebruik onze assistent om sneller informatie in de handleiding te vinden of uitleg te krijgen over specifieke functies.
Productinformatie
| Merk | Steinberg |
| Model | SBS-RT-1000N |
| Categorie | Niet gecategoriseerd |
| Taal | Nederlands |
| Grootte | 3235 MB |







