Steinberg SBS-RT-1000N handleiding
Handleiding
Je bekijkt pagina 42 van 76

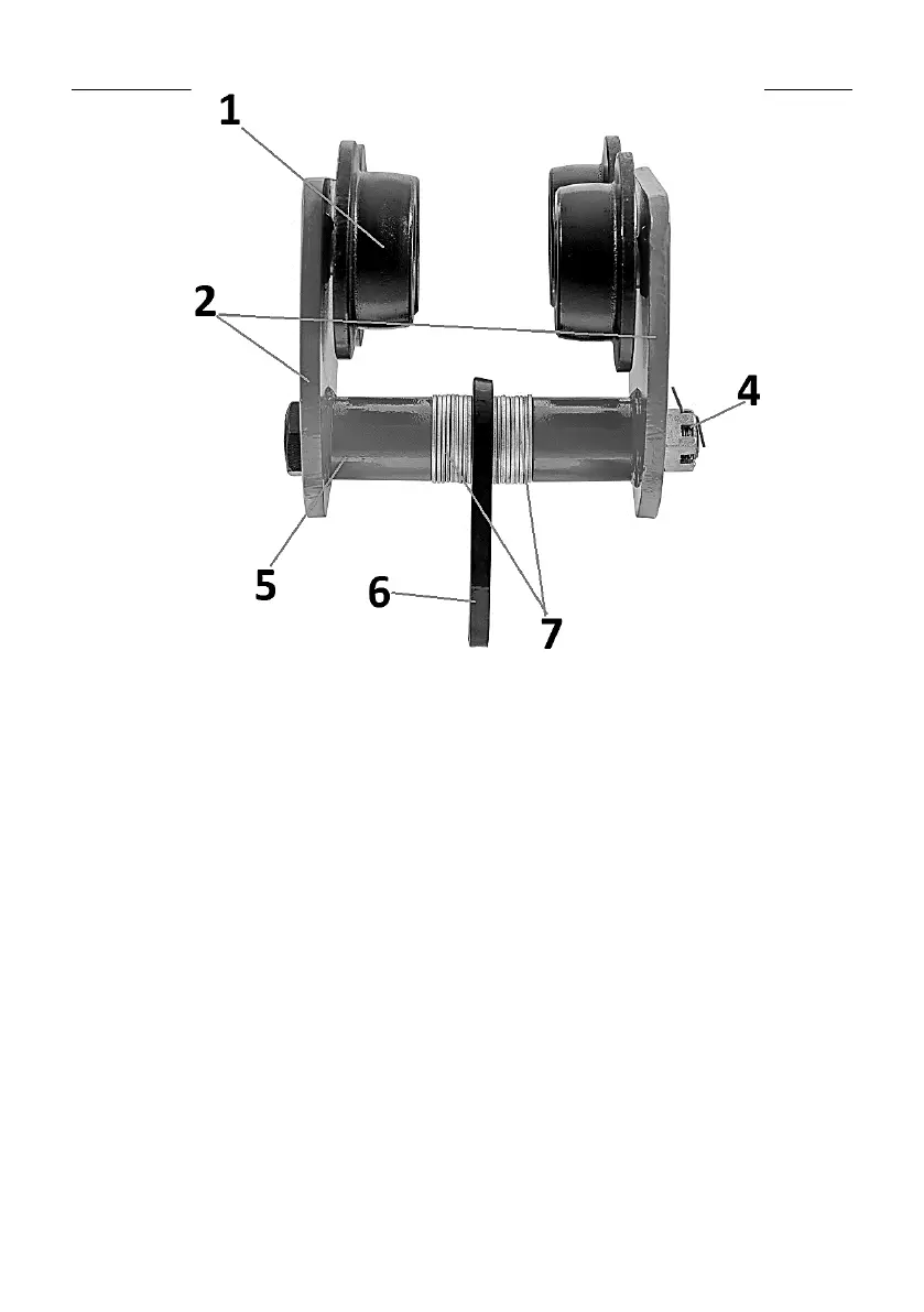
1. Roue d'alimentation
2. Parois latérales
3. Bobine de chaîne
4. Ecrou à lacet avec clip de sécurité
5. Axe
6. Frondes
7. Cale d’écartement
8. Chaîne d'entrainement
3.2. Préparation du travail/travail avec l'appareil
PLACEMENT DE L'APPAREIL :
ATTENTION ! Assurez-vous que la structure porteuse sur laquelle l'appareil se
déplacera est suffisamment solide pour supporter le poids de la charge
et de l'appareil. Il est interdit de monter l'appareil sur une structure dont la capacité
portante et la résistance ne peuvent pas être vérifiées. Responsabilité
pour le montage du dispositif sur la structure de support et pour la structure de
support elle-même tombe sur l'utilisateur. Lors de la suspension de l'appareil sur la
structure porteuse, il faut
de faire preuve d'une extrême prudence et de s'assurer que toutes les conditions
sont propices à un travail en toute sécurité - cela vous permettra d'éviter les risques
associés à d'éventuelles
Bekijk gratis de handleiding van Steinberg SBS-RT-1000N, stel vragen en lees de antwoorden op veelvoorkomende problemen, of gebruik onze assistent om sneller informatie in de handleiding te vinden of uitleg te krijgen over specifieke functies.
Productinformatie
| Merk | Steinberg |
| Model | SBS-RT-1000N |
| Categorie | Niet gecategoriseerd |
| Taal | Nederlands |
| Grootte | 3235 MB |







