Steinberg SBS-RT-1000N handleiding
Handleiding
Je bekijkt pagina 18 van 76

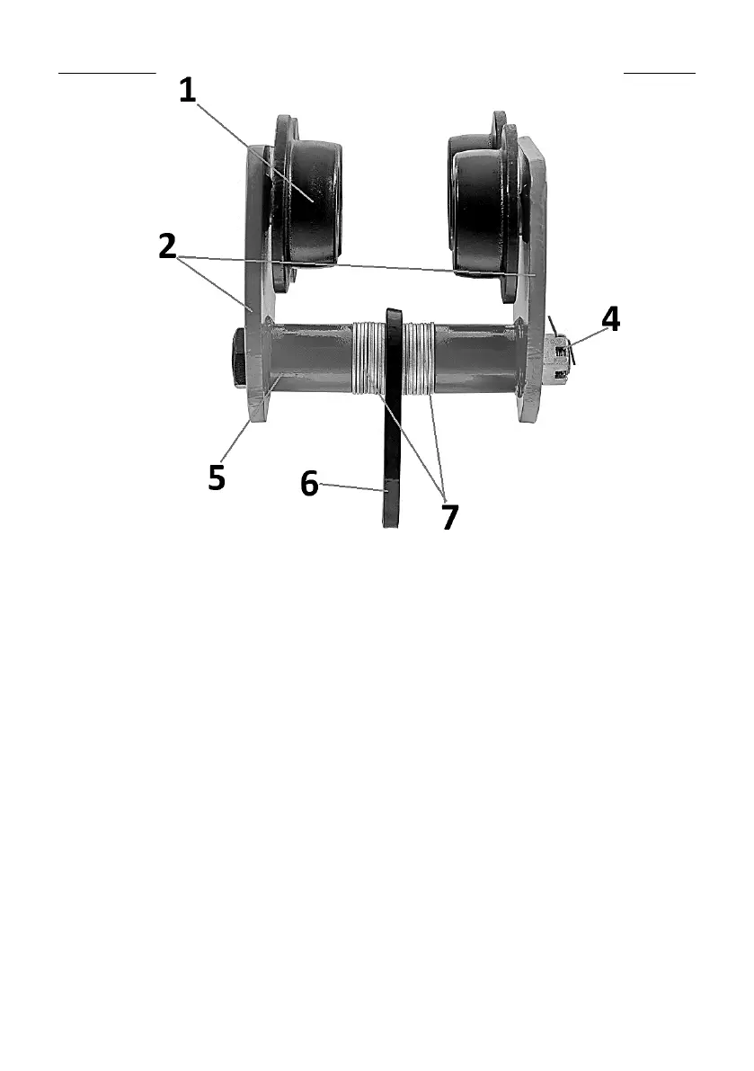
1. Feed wheel
2. Side walls
3. Chain spool
4. Lace nut with a safety clip
5. Axis
6. Slings
7. Spacers
8. Drive chain
3.2. Preparation for work/Working with the device
POSITIONING OF THE UNIT
CAUTION! Make sure that the support structure on which the unit will move is
strong enough to withstand the weight of the load
and the unit. Do not mount the unit on a support structure that cannot be verified
as to its load-bearing capacity and strength. Responsibility
for mounting the device on the supporting structure and for the supporting
structure itself falls on the user. When suspending the device on the supporting
structure, it is necessary
to exercise extreme caution and ensure all conditions are suitable for safe work -
this will allow you to avoid the risks associated with possible
personal injuries.
Bekijk gratis de handleiding van Steinberg SBS-RT-1000N, stel vragen en lees de antwoorden op veelvoorkomende problemen, of gebruik onze assistent om sneller informatie in de handleiding te vinden of uitleg te krijgen over specifieke functies.
Productinformatie
| Merk | Steinberg |
| Model | SBS-RT-1000N |
| Categorie | Niet gecategoriseerd |
| Taal | Nederlands |
| Grootte | 3235 MB |







